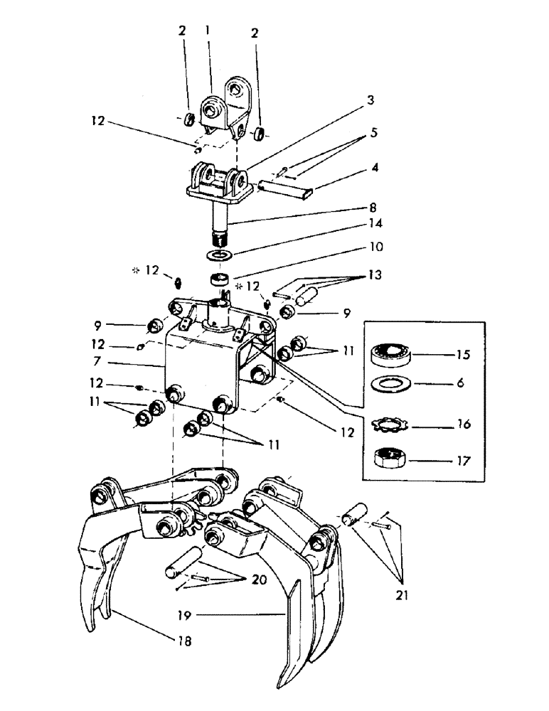
Запчасти Case 40EC (F14) - CLAM, (FOR TREE LENGTH WOOD), 55669M1 - CLAM COMPLETE (17) - CLAMSHELLS

Схема запчастей Case 40EC - (F14) - CLAM, (FOR TREE LENGTH WOOD), 55669M1 - CLAM COMPLETE (17) - CLAMSHELLS
FIT
1:1
100%

Артикул

Название

Примечание

Количество

56599

CLAM, pulpwood (Consists of Refs. 1 thru 21) - less hydraulics

1шт.

1

38673

YOKE, boom adaption (Includes Ref. 2)

1шт.

2

202136

BUSHING

2шт.

3

38672M1

FRAME, actuator yoke

1шт.

Change in listing.

1шт.

4

205653M1

PIN, yoke hinge

1шт.

5

61971

PIN, clevis - 1/2" x 2.766" grip length

1шт.

4627

COTTER PIN

PIN, cotter - 1/8" x 1" long

1шт.

6

78011M1

SPACER

1шт.

Change in listing.

1шт.

7

56580

SHIM,.075" Thk

FRAME, clam (Includes Refs. 9, 10 and 11)

1шт.

8

207305M1

ADAPTER, splined - (Weld on)

1шт.

9

23796

BUSHING, frame cylinder base arm

2шт.

10

23021

HALF SHAFT

BUSHING

1шт.

11

20045

BUSHING, arm hinge

8шт.

12

12031

FITTING, grease - 1/8" NPT (Straight)

11шт.

13

46134

PIN, cylinder base

2шт.

61971

PIN, clevis - 1/2" x 2.766" grip length

2шт.

4627

COTTER PIN

PIN, cotter - 1/8" x 1" long

2шт.

14

80232

WASHER, wear

1шт.

15

NLS

NO LONGER SERVICED

GUARD, bearing dirt seal

1шт.

16

74818

LOCKWASHER

2шт.

17

74817

NUT, lock

2шт.

18

53845

SUPPORT

ARM, male clam

1шт.

19

53846

ARM, female clam

1шт.

20

40791

GUARD

PIN, male and female arm hinge

4шт.

61971

PIN, clevis - 1/2" x 2.766" grip length

4шт.

4627

COTTER PIN

PIN, cotter - 1/8" x 1" long

4шт.

21

71639

PIN, cylinder rod, Serial Range: end-arm

2шт.

10783

PIN, clevis - 3/8" x 2.766" grip length

2шт.

4627

COTTER PIN

PIN, cotter - 1/8" x 1" long

2шт.

Выбрано товаров: 31