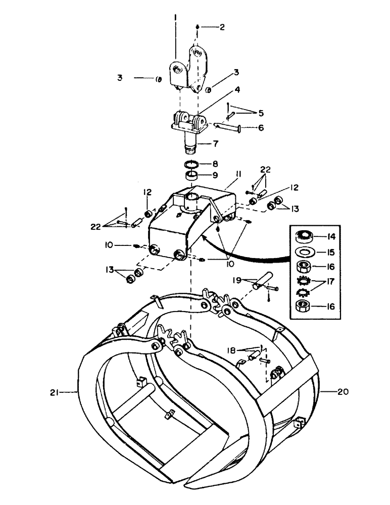
Запчасти Case 40EC (F16) - CLAM FOR:, (FOR 1/2 CORD 4 WOOD) (17) - CLAMSHELLS

Схема запчастей Case 40EC - (F16) - CLAM FOR:, (FOR 1/2 CORD 4 WOOD) (17) - CLAMSHELLS
FIT
1:1
100%

Артикул

Название

Примечание

Количество

59179

CLAM, pulpwood - complete (Consists of items 1 thru 22) - less hydraulics - (Used on clams with serial number 113-up)

1шт.

1

38673

YOKE, boom adaption - (Includes 2 and 3)

1шт.

2

12032

SENSOR

FITTING, grease - 1/8" NPT (30 degrees)

2шт.

3

202136

BUSHING - 2"

2шт.

4

38672M1

FRAME, actuator yoke

1шт.

5

61971

PIN, clevis - 1/2" x 2.766" grip length

1шт.

4627

COTTER PIN

PIN, cotter - 1/8" x 1" long

1шт.

6

205653M1

PIN, yoke hinge - 2" diameter

1шт.

7

207305M1

ADAPTER, splined (Weld on)

1шт.

8

80232

WASHER, wear

1шт.

9

23021

HALF SHAFT

BUSHING

1шт.

10

NLS

NO LONGER SERVICED

FITTING, grease - 1/8" NPT (Straight)

11шт.

11

59150

FRAME, clam - includes items 9, 12 and 13

1шт.

12

23796

BUSHING, frame cylinder base arm

2шт.

13

20045

BUSHING, arm hinge

8шт.

14

74816

BEARING, thrust ball

1шт.

15

78011M1

SPACER

1шт.

16

74817

NUT, lock

2шт.

17

74818

LOCKWASHER, external tooth

2шт.

18

71639

PIN, cylinder rod end

2шт.

10783

PIN, clevis - 3/8" x 2.766" grip length

2шт.

4627

COTTER PIN

PIN, cotter - 1/8" x 1" long

2шт.

19

40791

GUARD

PIN, arm hinge

4шт.

61971

PIN, clevis - 1/2" x 2.766" grip length

4шт.

4627

COTTER PIN

PIN, cotter - 1/8" x 1" long

4шт.

20

951709

ARM - right side

1шт.

21

951710

ARM - left side

1шт.

22

46134

PIN, cylinder base

2шт.

61971

PIN, clevis - 1/2" x 2.766" grip length

2шт.

4627

COTTER PIN

PIN, cotter - 1/8" x 1" long

2шт.

Выбрано товаров: 30