Запчасти Case 40EC (I01) - * TURNTABLE WIRING HARNESS FOR:, GMC 4-53, GMC 4-71, AC 2900 (06) - ELECTRICAL SYSTEMS

Схема запчастей Case 40EC - (I01) - * TURNTABLE WIRING HARNESS FOR:, GMC 4-53, GMC 4-71, AC 2900 (06) - ELECTRICAL SYSTEMS
FIT
1:1
100%

Артикул

Название

Примечание

Количество

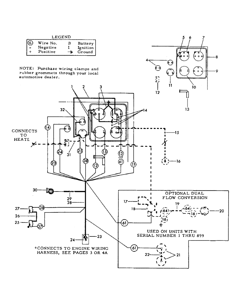
1

WIRE, jumper - 12 gauge wire 4" long

2шт.

2

WIRE, jumper - 12 gauge wire 8" long

1шт.

3

WIRE, jumper - 14 gauge wire with 2 leads of 5" long

1шт.

4

NLS

NO LONGER SERVICED

SWTICH, starter button and/or horn - Delco-Remy #1996097

2шт.

5

49918

BREAKER, circuit - Littlefuse #B-813030

1шт.

75869

KIT

LOCKWASHER, external tooth - #10

3шт.

17263

NUT - #10 NC

3шт.

6

27824M2

GAUGE, engine temperature - Stewart Warner #311-W

1шт.

7

27827M2

GAUGE, oil pressure - Stewart Warner #306-K

1шт.

8

202345M1

PANEL, instrument

1шт.

7496

SCREW, self tapping - 1/4" x 1/2" NC

2шт.

9

27829M1

GAUGE, fuel

1шт.

72044

JOINT TURNING

PLUG, button - used to plug hole when fuel gauge is not used

1шт.

10

27828M1

AMMETER - Stewart Wenner #357-X

1шт.

11

76366

SWITCH, ignition - Delco-Remy #1116668

1шт.

12

SWITCH, heater - furnished with heater

1шт.

13

206570

STRAP, ground - in panel under gauges

1шт.

14

WIRE, jumper - 12 gauge wire 5" long

3шт.

15

WIRE, jumper - 14 gauge wire 84" long

1шт.

16

502600

GAUGE, fuel tank - Stewart Warner #391-D

1шт.

17

WIRE, jumper - 14 gauge wire 4" long

1шт.

18

70276

PIPE FITTING

SWITCH, magnetic - Delco-Remy #1477 (Optional)

1шт.

40799M1

SCREW, self tapping - 1/4" x 5/8" NC

2шт.

19

208821

WIRING HARNESS, dual flow solenoid switch - optional

1шт.

20

204436

TOOL

SWITCH, dual flow solenoid - Graybar - Edwards #694-11

1шт.

21

SOLENOID, valve actuator - Delco-Remy #1119821 (Optional) (For breakdown, see page 8)

2шт.

2351

LAMP

CPSW - 1/4" x 1" NC gr. 5

8шт.

4395

WASHER

LOCKWASHER - 1/4"

8шт.

4220

TOOL

NUT - 1/4" NC

8шт.

22

WIRE, jumper - 12 gauge 7" long (Optional)

1шт.

23

76863

COVER, plastic - 10"

1шт.

24

73386

SPARE PART

TIE, cable - Panduit type LST-4 (Secures connector bodies together)

1шт.

25

80117

SWITCH, micro - roller lever #BZ-2RW82255T (Mounts on the left crawler contorl rod)

1шт.

26

WIRE, jumper - 14 gauge wire 20" long

1шт.

27

67614

SWITCH, micro - straight lever #BZ-2RW855T (Controlled by the brake valve spool)

1шт.

28

39058M1

WIRING HARNESS, main

1шт.

29

62256

LOOM, auto non-metallic - 12" long

1шт.

30

203189

HORN - Delco-Remy #9000514

1шт.

64752

NUT - Delco-Remy #1958668 (Mounts, Serial Range: horn-bracket)

1шт.

7378

WASHER, flat - 1/4" (Spacers for horn)

2шт.

31

WIRE, jumper - 16 gauge wire 8" long (Optional)

1шт.

32

WIRE, jumper - 14 gauge wire 5" long

1шт.

Выбрано товаров: 42