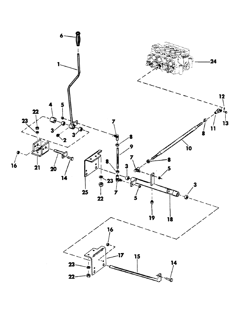
Запчасти Case 40EC (048) - CROWD CONTROL AND LINKAGE (05) - UPPERSTRUCTURE CHASSIS

Схема запчастей Case 40EC - (048) - CROWD CONTROL AND LINKAGE (05) - UPPERSTRUCTURE CHASSIS
FIT
1:1
100%

Артикул

Название

Примечание

Количество

1

S506214

HANDLE, crowd control

1шт.

2

S49793

FITTING

grease - 1/4" NPT x 65 degrees

1шт.

3

S63168

NEEDLE BEARING,0.625" ID x 0.8125" OD x 0.5"

BEARING, needle

4шт.

4

S87490

SPACER

1шт.

5

231-2446

NUT,3/8"-24, GB

NUT, self locking - 3/8" NF

3шт.

6

S63411

HANDLE

GRIP, crowd control handle

1шт.

7

S215594

BALL

JOINT, ball

3шт.

8

86585245

SPECIAL NUT,JAM, 5/8" - 18

jam - 3/8" NF

4шт.

9

S91683

ROD

connecting

1шт.

10

S219275

ROD

connecting

1шт.

11

S12514

YOKE

1шт.

12

S4640

PIN, cotter - 5/32" x 3/4" long

1шт.

13

S10768

PIN

clevis - 3/8" x 1.016" grip length

1шт.

14

S2352

BOLT

CPSW - 1/4" NC x 1-1/4" gr 5

2шт.

15

S218961

SHAFT ASSY.

SHAFT

1шт.

16

231-1444

NUT,1/4"-20, GB

NUT, LOCK, 1/4"-20, GB

2шт.

17

S221103

BRACKET

1шт.

18

S220214

BELLCRANK

1шт.

19

S46960

FITTING

grease - 1/4" NPT - (Straight)

1шт.

20

S217833

SHAFT ASSY.

SHAFT

1шт.

21

S219073

SUPPORT

ASSEMBLY

1шт.

22

S17169

INSTRUCTION

NUT, self locking - 1/2" NC

6шт.

23

S7397

WASHER

flat - 1/2"

6шт.

24

VALVE, 4-spool main - (For breakdown, see Figure 151)

1шт.

25

S218940

BRACKET

1шт.

Выбрано товаров: 25