Запчасти Case 40YC (J18) - 24" FELLER/BUNCHER HYDRAULICS, FROM "Y" BOOM TO GRAB ARM (07) - HYDRAULIC SYSTEM

Схема запчастей Case 40YC - (J18) - 24" FELLER/BUNCHER HYDRAULICS, FROM "Y" BOOM TO GRAB ARM (07) - HYDRAULIC SYSTEM
FIT
1:1
100%

Артикул

Название

Примечание

Количество

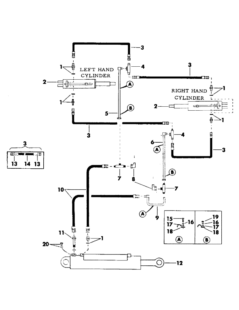
1

S7967

CONNECTOR, ELEC

CONNECTOR - (5/8" tube) - 1-1/16"-12 male x 7/8"-14 male - 37 degrees flared - (Includes "O" ring)

5шт.

S6065

RING

"O" RING - .924" ID x 1.156" OD

5шт.

2

CYLINDER, grab arm - (For breakdown, see page)

4шт.

3

S89942

HOSE

high pressure - 1/2" ID x 50" long - (Consists of items 13 and 14)

4шт.

4

S63598

TEE

swivel - (5/8" tube) - 7/8"-14 male x 7/8"-14 male x 7/8"-14 female - 37 degrees flared

2шт.

5

S217846

LINE, hydraulic 1.25" OD

1шт.

6

S217847

LINE, hydraulic 1.25" OD

1шт.

7

S60502

MAKING-UP

TEE - (1" tube) - 1-5/16"-12 male x 1-5/16"-12 male x 1-5/16"-12 male - 37 degrees flared

2шт.

8

S10361

ELBOW

90 degrees swivel - (1" tube) - 1-5/16"-12 male x 1-5/16"-12 female - 37 degrees flared

2шт.

9

S217848

TUBE ASSY.,1.25" OD

LINE, hydraulic

1шт.

10

S8628

HOSE

high pressure - 1" ID x 36" long - (With 1-5/16" - 12 feemale pressed on couplings)

2шт.

11

S66480

CONNECTOR, ELEC

CONNECTOR, long - (1" tube) - 1-5/16"-12 male x 1-5/16"-12 male - 37 degrees flared - (Includes "O" ring)

1шт.

S6069

O-RING,1.171" ID x 0.116" Width

"O" RING - 1.171" ID x 1.403" OD

1шт.

12

CYLINDER, shear arm - (For breakdown, see page)

1шт.

13

S11093

PIVOT

COUPLING, reusable - (1/2" ID hose) - 7/8"-14 female - 37 degrees flared

8шт.

14

S28462

HOSE

low pressure (Bulk) - 4 pieces 1/2" ID x 47" long

1шт.

15

S2466

BOLT

CPSW - 1/2" NC x 1-1/4" gr. 5

3шт.

16

S4399

WASHER

lock - 1/2"

5шт.

17

S7392

WASHER

flat - 1/2"

5шт.

18

S77469

CLAMP

5шт.

19

S17169

INSTRUCTION

NUT, self locking - 1/2" NC

2шт.

20

S8985

PLUG

- (1" tube) 1-5/16" - 12 male - (Includes "O" ring)

2шт.

S6069

O-RING,1.171" ID x 0.116" Width

"O" RING - 1.171" ID x 1.403" OD

2шт.

Выбрано товаров: 23