Запчасти Case 40YC (050) - HOIST CONTROL AND LINKAGE (05) - UPPERSTRUCTURE CHASSIS

Схема запчастей Case 40YC - (050) - HOIST CONTROL AND LINKAGE (05) - UPPERSTRUCTURE CHASSIS
FIT
1:1
100%

Артикул

Название

Примечание

Количество

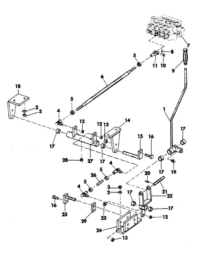
1

S506215

HANDLE

hoist control

1шт.

2

S7397

WASHER

flat - 1/2"

4шт.

3

S17169

INSTRUCTION

NUT, self locking - 1/2" NC

4шт.

4

S215594

BALL

JOINT, ball

3шт.

5

86585245

SPECIAL NUT,JAM, 5/8" - 18

jam - 3/8" NC

4шт.

6

S218942

ROD

connecting

1шт.

7

VALVE, 4-spool main control - (For breakdown, see Figure 149)

1шт.

8

S4640

PIN, cotter - 5/32" x 1" long

1шт.

9

S63411

HANDLE

GRIP, handle - (Used on units without fast hoist)

1шт.

S218254

GRIP

handle - (Used on units with fast hoist)

1шт.

10

S10768

PIN

clevis - 3/8" x 1.016" grip length

1шт.

11

S12514

YOKE

1шт.

12

231-2446

NUT,3/8"-24, GB

NUT, self locking - 3/8" NC

3шт.

13

231-1444

NUT,1/4"-20, GB

NUT, LOCK, 1/4"-20, GB

2шт.

14

S220261

BRACKET

1шт.

15

S217838

SHAFT

1шт.

16

S2352

BOLT

CPSW - 1/4" NC x 1-1/4" gr 5

2шт.

17

S63168

NEEDLE BEARING,0.625" ID x 0.8125" OD x 0.5"

BEARING, needle

6шт.

18

S219366

BRACKET

1шт.

19

S46960

FITTING

grease - 1/4" NPT - (Straight)

1шт.

20

S2523

PIN, roll

1шт.

21

S87535

SHAFT

1шт.

22

S220209

ARM ASSY.

BELLCRANK

1шт.

23

S46960

FITTING

grease - 1/4" NPT - (Straight)

1шт.

24

S219036

SUPPORT

1шт.

25

S218962

SHAFT ASSY.

SHAFT

1шт.

26

S87534

ROD

connecting

1шт.

27

S220219

BELLCRANK

1шт.

28

S46960

FITTING

grease - 1/4" NPT - (Straight)

1шт.

29

S93485

SPACER

1шт.

Выбрано товаров: 30