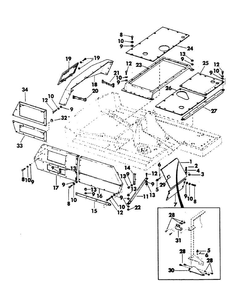
Запчасти Case 40YC (059) - TURNTABLE SHROUDING AND ATTACHING PARTS, (TOP, REAR AND RIGHT SIDE) (05) - UPPERSTRUCTURE CHASSIS

Схема запчастей Case 40YC - (059) - TURNTABLE SHROUDING AND ATTACHING PARTS, (TOP, REAR AND RIGHT SIDE) (05) - UPPERSTRUCTURE CHASSIS
FIT
1:1
100%

Артикул

Название

Примечание

Количество

1

S505883

DOOR, front

1шт.

2

S2404

BOLT (MACHINE)

CPSW - 3/8" NC x 1-1/2" gr 5

2шт.

3

S4222

NUT

- 3/8" NC

2шт.

4

S7387

WASHER

flat - 3/8"

2шт.

5

S217887

PIN

2шт.

6

S81895

COTTER PIN

PIN, hair

2шт.

7

S219775

SHEET

front

1шт.

8

S2465

BOLT (MACHINE)

CPSW - 1/2" x 1" gr 5

1шт.

9

S94090

SPACER

WASHER, flat - 1/2" - (Supersedes S86132)

1шт.

Change in listing.

1шт.

10

S4399

WASHER

lock - 1/2"

1шт.

11

S219774

BRACE

2шт.

12

S2466

BOLT

CPSW - 1/2" NC x 1-1/4" gr 5

1шт.

13

S17169

INSTRUCTION

NUT, self locking - 1/2" NC

1шт.

14

S220373

BRACKET

1шт.

15

S219895

ANGLE

1шт.

16

S602548

SHROUD, side panel - (Right front)

1шт.

17

S602550

SHROUD

side panel - (Right rear)

1шт.

18

S602552

SHROUD, rear panel

1шт.

19

S505863

DOOR, rear

1шт.

S2403

BOLT

CPSW - 3/8" NC x 1-1/2" gr 5

2шт.

S7385

INSTRUCTION

WASHER, flat - 3/8"

2шт.

87016560

JAM NUT,Jam, 3/8"-16, G5

- 3/8" NC

2шт.

20

S219460

BRACE

- (Right hand)

1шт.

21

S219473

BRACE

- (Left hand)

1шт.

S2350

MUFFLER

CPSW - 1/2" NC x 3/4" gr 5

6шт.

231-1444

NUT,1/4"-20, GB

NUT, LOCK, 1/4"-20, GB

10шт.

S2351

BOLT

CPSW - 1/4" NC x 1" gr 5

4шт.

S7378

WASHER

flat - 1/4"

4шт.

S7380

WASHER

flat - 1/4"

2шт.

22

S7407

WASHER

flat - 13/16"

1шт.

23

S602568

SHROUD, engine - (Used on Case 504BD diesel engine only)

1шт.

24

S602569

COVER, engine - (Used on Case 504BD diesel engine only)

1шт.

25

S505864

COVER, engine - (Used on Detroit diesel engine only)

1шт.

26

S505865

COVER, engine - (Used on Detroit diesel engine only)

1шт.

27

S505861

CHANNEL

1шт.

28

S2401

BOLT

CPSW - 3/8" NC x 1 " gr 5

4шт.

S7385

INSTRUCTION

WASHER, flat - 3/8"

4шт.

S17167

INSTRUCTION

NUT, self locking - 3/8" NC

4шт.

29

S219346

LATCH

LTACH, door

1шт.

30

S221453

BRACKET

hinge

1шт.

31

S221455

BRACKET

hinge

1шт.

32

S86132

WASHER

hardened flat

1шт.

Added listing.

1шт.

33

S505834

GRILLE, lower

1шт.

Added listing.

1шт.

34

S505835

GRILLE, upper

1шт.

Added listing.

1шт.

Выбрано товаров: 48