Запчасти Case 40YC (139) - TRACK DRIVE MOTOR (07) - HYDRAULIC SYSTEM

Схема запчастей Case 40YC - (139) - TRACK DRIVE MOTOR (07) - HYDRAULIC SYSTEM
FIT
1:1
100%

Артикул

Название

Примечание

Количество

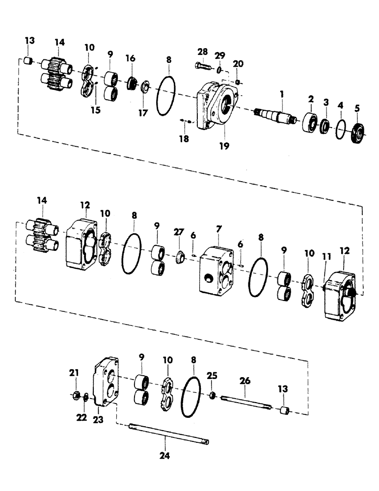
S39993

MOTOR

track drive - complete - (Consists of items 1 thru 27)

2шт.

1

S64277

SHAFT

quantites listed are for one complete motor

1шт.

2

S63513

TAPERED BEARING

BEARING, tapered, quantites listed are for one complete motor

1шт.

3

S70416

OIL SEAL

high pressure, quantites listed are for one complete motor

1шт.

4

S6592

O-RING,0.139" Thk x 2.234" ID, -228, Cl 6, 90 Duro

"O" RING - 2.234" ID x 2.500" OD, quantites listed are for one complete motor

1шт.

5

S70415

RETAINER

RING, retainer, quantites listed are for one complete motor

1шт.

6

S63529

PIN

roll, quantites listed are for one complete motor

2шт.

7

S72899

CARRIER

bearing, quantites listed are for one complete motor

1шт.

8

S83751

SEAL

"O" RING - 4.109" ID X 4.375" OD, quantites listed are for one complete motor

4шт.

9

S63517

ROLLER BEARING

roller, quantites listed are for one complete motor

8шт.

10

S63522

LARGE PLATE

PLATE, thrust, quantites listed are for one complete motor

4шт.

11

S63530

SHAFT

connecting, quantites listed are for one complete motor

1шт.

12

S75508

HOUSING

gear, quantites listed are for one complete motor

2шт.

13

S76245

SPACER

quantites listed are for one complete motor

2шт.

14

S72565

GEAR-SET

GEAR, set - 1-1/34", quantites listed are for one complete motor

2шт.

15

S17682

SEAL

pocket - (Bulk) - 2 strips makes enough seals for tandem motor, quantites listed are for one complete

2шт.

16

S63518

SPRING

quantites listed are for one complete motor

1шт.

17

S63519

BUSHING

shaft, quantites listed are for one complete motor

1шт.

18

S61749

VALVE

ASSEMBLY, check, quantites listed are for one complete motor

2шт.

19

S77722

COVER

shaft end, quantites listed are for one complete motor

1шт.

20

S7879

PLUG

socket pipe - 1/4" NPT - (Used in neck of item 19), quantites listed are for one complete motor

1шт.

21

S4206

NUT - 9/16" NC, quantites listed are for one complete motor

4шт.

22

S80754

WASHER

flat - 21/32" ID x 1-1/4" OD x 3/16", quantites listed are for one complete motor

4шт.

23

S63520

COVER, port end, quantites listed are for one complete motor

1шт.

24

S76269

STUD

connecting - external, quantites listed are for one complete motor

4шт.

25

S63533

LOCK NUT

NUT, lock, quantites listed are for one complete motor

1шт.

26

S76268

STUD, connecting - internal, quantites listed are for one complete motor

1шт.

27

S63528

BUSHING

shaft, quantites listed are for one complete motor

2шт.

28

S2467

BOLT

CPSW - 1/2" NC x 1-1/2" gr 5 - (Motor mounting), quantites listed are for one complete motor

2шт.

29

S4399

WASHER

lock - 1/2", quantites listed are for one complete motor

2шт.

Выбрано товаров: 30