Запчасти Case 50 (B03) - TURNTABLE LEVELER WITH PINS AND HARDWARE (48) - TRACKS & TRACK SUSPENSION

Схема запчастей Case 50 - (B03) - TURNTABLE LEVELER WITH PINS AND HARDWARE (48) - TRACKS & TRACK SUSPENSION
FIT
1:1
100%

Артикул

Название

Примечание

Количество

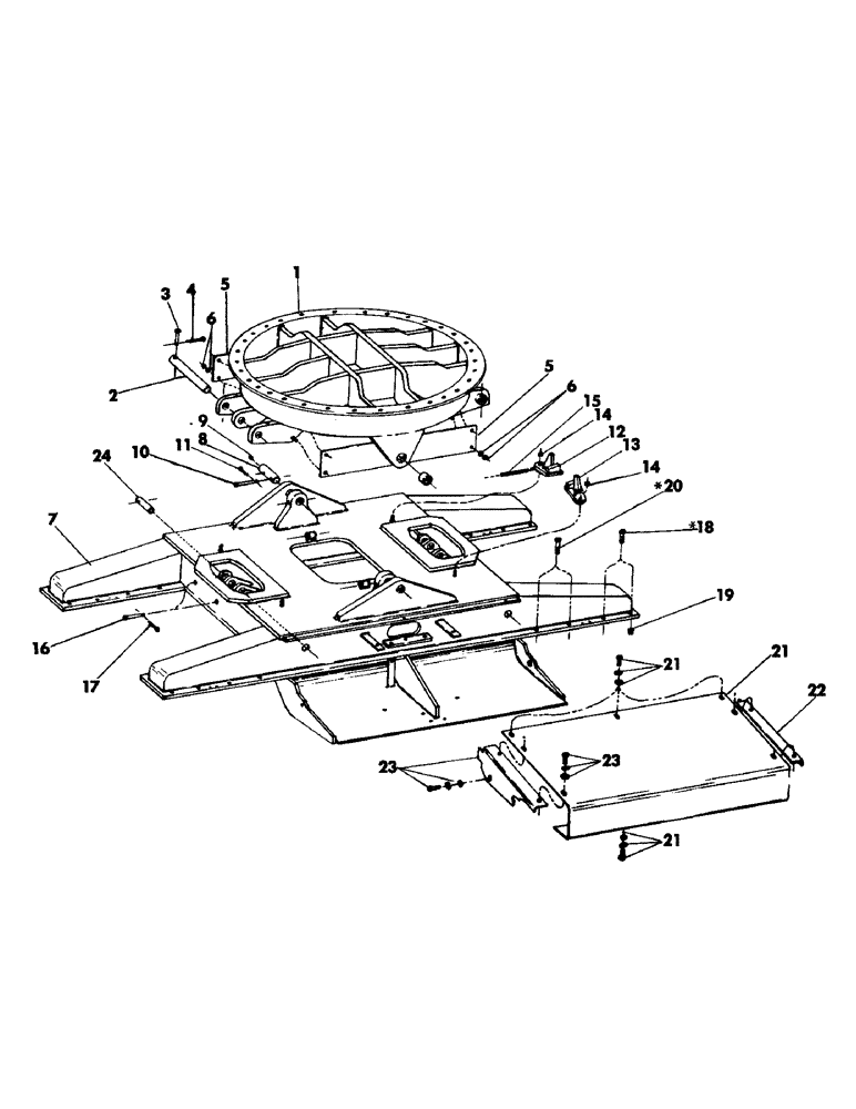
1

S59820

RING, leveler

1шт.

2

S85708

PIN

cylinders to leveler ring

2шт.

3

S61973

AXLE PIN

PIN, clevis - 1/2" x 3.766" grip length

3шт.

4

S4627

SPLIT PIN

PIN, cotter - 1/8" x 1" long

2шт.

5

S214790

COVER, motor - (Rear side)

2шт.

6

S9089

NUT

self locking - 3/8" NC

8шт.

S7385

INSTRUCTION

WASHER - flat 3/8"

8шт.

7

S52273

BASE, leveler

1шт.

8

S85739

PIN

leveler ring to base (Includes Ref. 9)

2шт.

9

S12031

FITTING,1/8"-27 x .66 lg

grease - 1/4" NPT

2шт.

10

S61977

PIN

clevis - 5/8" x 6.266" grip length

2шт.

11

S4627

SPLIT PIN

PIN, cotter - 1/8" x 1" long

2шт.

12

S213942

STOP, leveler ring

2шт.

13

S213941

STOP, leveler ring

2шт.

14

S17169

INSTRUCTION

NUT - 1/2" NC

4шт.

15

S64335

SPRING, stop

2шт.

16

S61972

PIN

clevis - 1/2" x 3.266 grip length

4шт.

17

S4641

PIN, SPLIT (COTTER)

PIN, cotter - 5/32" x 1" long

4шт.

18

S2549

BOLT

CPSW - 3/4" NC x 3" grade 5

16шт.

19

231-14012

LOCK NUT,3/4"-10, GB

NUT - 3/4" NC

16шт.

20

S2546

BOLT (MACHINE)

CPSW - 3/4" NC x 2-1/4" grade 5

16шт.

21

S502292

COVER, motor - (Top and front side)

1шт.

S2466

BOLT

CPSW - 1/2" NC x 1-1/4" grade 5 - (Top of, Serial Range: cover-base)

3шт.

S2468

BOLT

CPSW - 1/2" NC x 1-3/4" grade 5 - (Bottom of, Serial Range: cover-base)

2шт.

S4399

WASHER

LOCKWASHER - 1/2"

5шт.

S7393

WASHER

flat - 1/2"

5шт.

22

S211601

SHIELD, dirt - right hand

1шт.

23

S211602

SHIELD, dirt - left hand

1шт.

S2467

BOLT

CPSW - 1/2" NC x 1-1/2" grade 5 - (Quantity of 3 used with each shield)

8шт.

S4399

WASHER

LOCKWASHER - 1/2"

8шт.

S7393

WASHER

flat - 1/2"

8шт.

24

S85738

PIN

4шт.

Added listing.

1шт.

S61972

PIN

clevis - 1/2" x 3.266" grip length

4шт.

S4641

PIN, SPLIT (COTTER)

PIN, cotter - 5/32" x 1" long

4шт.

Выбрано товаров: 35