Запчасти Case 50 (I3) - ENGINE WIRING HARNESS FOR: GMC 6V-53 DIESEL ENGINE (55) - ELECTRICAL SYSTEMS

Схема запчастей Case 50 - (I3) - ENGINE WIRING HARNESS FOR: GMC 6V-53 DIESEL ENGINE (55) - ELECTRICAL SYSTEMS
FIT
1:1
100%

Артикул

Название

Примечание

Количество

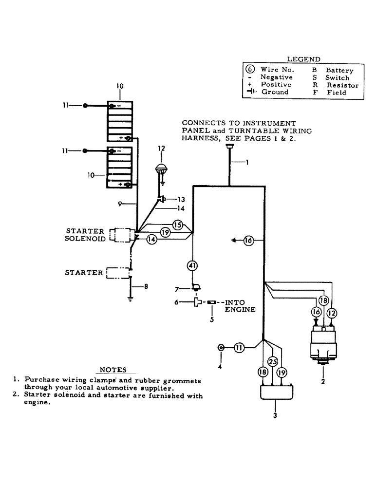
1

502322

LINER

WIRING HARNESS, engine

1шт.

2

ALTERNATOR - 12 volt, 55 amp, Delco-Remy #1100690, negative ground and counterclockwise (Purchase locally)

1шт.

17276

NUT, alternator - #10 NF

1шт.

75869

KIT

LOCKWASHER, internal tooth - #10

1шт.

17277

NUT, alternator - #12 NF

1шт.

7341

FITTING

LOCKWASHER, internal tooth - #12

1шт.

64612

SHIM,0.012" Thk

0.12" Thk, Boot, Rubber - Used on battery post of alternator

1шт.

32921

FAN, pulley, Delco-Remy #1940994

1шт.

66878

TUBE

PULLEY, alternator

1шт.

3

REGULATOR, voltage - 12 volt, 42 amp, Delco-Remy #1119513 and negative ground (Purchase locally)

1шт.

2350

STOP

CPSW - 1/4" x 3/4" NC grade 5

2шт.

4395

WASHER

LOCKWASHER - 1/4"

2шт.

4220

TOOL

NUT - 1/4" NC

2шт.

4

27825M1

SENDING UNIT, engine temperature - Stewart Warner #362-X or F.E.

1шт.

5

7839

NIPPLE, LUBE

NIPPLE, open - 1/8" NPT x 1-1/2" long (Into engine)

1шт.

6

17977

TEE - 1/8" NPT female x 1/8" NPT female x 1/8" NPT female

1шт.

7

27826M1

SENDING UNIT, oil pressure - Stewart Warner #353-AH or F.E.

1шт.

8

81455

CABLE, ground

1шт.

9

210385

CABLE, battery to starter solenoid

1шт.

10

BATTERY, dry - 12 Volt (Purchase at your local dealer)

2шт.

11

NLS

NO LONGER SERVICED

CABLE, Serial Range: battery-ground

2шт.

12

27830M2

HOURMETER - Hamilton #572 or F.E. (Furnished with wires) (Optional)

1шт.

Change in listing

1шт.

13

63884

FILE

SWITCH, pressure - Hobbs #M1-672 or F.E. (Mounts into Ref. 6) (Optional)

1шт.

14

WIRE, jumper - 12 gauge wire 8" long (Optional)

1шт.

Выбрано товаров: 25