Запчасти Case 50 (031) - FUEL TANK AND LINES (10) - ENGINE

Схема запчастей Case 50 - (031) - FUEL TANK AND LINES (10) - ENGINE
FIT
1:1
100%

Артикул

Название

Примечание

Количество

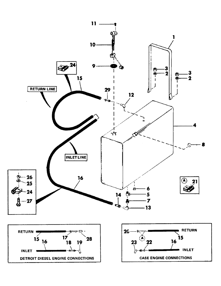
1

S93863

STRAP

fuel tank mounting

2шт.

2

S7385

INSTRUCTION

WASHER, flat - 3/8"

4шт.

3

S17167

INSTRUCTION

NUT, self locking - 3/8" NC

4шт.

4

S502212M2

TANK, fuel

1шт.

5

S218848

VALVE

shut-off

1шт.

6

S15162

PLUG

tank drain

1шт.

7

S17551

BUSHING

reducing - 3/8" NPT male x 1/4" NPT female

1шт.

8

S64019

FILLER CAP

CAP, fuel tank

1шт.

9

S49745

GASKET

GASKET, fuel gauge sending unit

1шт.

10

S502600

SENDER UNIT

SENDING UNIT, fuel gauge

1шт.

11

S14530

SCREW, machine - No. 10 NF x 3/4"

5шт.

12

S63648

ELBOW

- (Supersedes S92668)

1шт.

13

S83167

ELBOW

1шт.

14

S83165

FITTING

HOSE END - (Used on Detroit diesel engine)

1шт.

S91796

HOSE

END - (Used on Case engine)

1шт.

15

S63654

HOSE

fuel line - (Return) - 3/8" ID x 120" long - (Used on Detroit diesel engine)

1шт.

S63654

HOSE

fuel line - (Return) - 3/8" ID x 10" long - (Used on Case engine) (110")

1шт.

16

S70628

HOSE, fuel line - (Inlet) - 1/2" ID x 110" long - (Used on Detroit diesel engine)

1шт.

S63654

HOSE

fuel line - (Inlet) - 3/8" ID x 110" long - (Used on Case engine)

1шт.

17

S63652

END ASSY.

HOSE END - (Return) - (Used on Detroit diesel engine)

1шт.

18

S83165

FITTING

HOSE END - (Inlet) - (Used on Detroit diesel engine)

1шт.

19

S83167

ELBOW

90 degrees - (Inlet) - (Used on Detroit diesel engine)

1шт.

20

S209418

LINE, fuel - (Return) - (Used on Case engine)

1шт.

21

S15541

CLAMP

hose - (Used on Detroit diesel engine)

1шт.

S16604

CLAMP, hose - (Used on Case engine)

2шт.

22

S63652

END ASSY.

HOSE END - (Return) - (Used on Case engine)

1шт.

23

S63648

ELBOW

90 degrees - (Inlet) - (Used on Case engine)

1шт.

24

S86530

CLAMP

- (Used on Detroit diesel engine)

4шт.

S76696

CLAMP

- (Used on Case engine)

5шт.

25

S7385

INSTRUCTION

WASHER, flat - 3/8" - (Used on Detroit diesel engine)

1шт.

S7387

WASHER

flat - 13/32" - (Used on Case engine)

1шт.

26

S17167

INSTRUCTION

NUT, self locking - 3/8" NC

1шт.

27

S2402

BOLT

CPSW - 3/8" NC x 1-1/4" gr 5 - (Used to mount one S86530 clamp to radiator bracket) - (Used on Detroit diesel engine)

1шт.

S2401

BOLT

CPSW - 3/8" NC x 1" gr 5 - (Used to mount one S76696 clamp to radiator bracket) - (Used on Case engine)

1шт.

28

S17706

COUPLING

- 1/4" NPT - (Used on Detroit diesel engine)

1шт.

29

S63652

END ASSY.

HOSE END

1шт.

Выбрано товаров: 36