Запчасти Case 50 (135) - ENGINE WIRING HARNESS FOR:, CASE 504BDT DIESEL ENGINE (55) - ELECTRICAL SYSTEMS

Схема запчастей Case 50 - (135) - ENGINE WIRING HARNESS FOR:, CASE 504BDT DIESEL ENGINE (55) - ELECTRICAL SYSTEMS
FIT
1:1
100%

Артикул

Название

Примечание

Количество

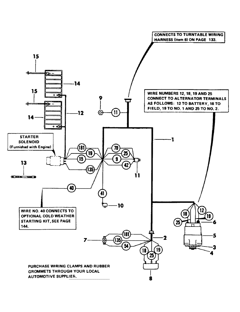
1

S602559

WIRING HARNESS, engine

1шт.

2

S220887

HARNESS

WIRING HARNESS, engine components

1шт.

3

S32921

FAN

alternator

1шт.

4

S219716

PULLEY

alternator

1шт.

5

S84908

ALTERNATOR

12 volt

1шт.

5

87297244

REMAN-ALTERNATOR

Remanufactured ALTERNATOR, 12 volt, 61 ampere, N.A. Only

1шт.

6

S64612

BOOT

rubber

1шт.

7

S26663M1

X

RELAY

1шт.

S2350

MUFFLER

SCREW, flat head machine - 1/4" NC x 3/4" gr 5

2шт.

231-1444

NUT,1/4"-20, GB

NUT, LOCK, 1/4"-20, GB

2шт.

8

S62714

REGULATOR

voltage

1шт.

S14532

SCREW

machine - 1/4" NC x 3/4" gr 5

2шт.

231-1444

NUT,1/4"-20, GB

NUT, LOCK, 1/4"-20, GB

2шт.

9

S27825M1

X

SENDING UNIT, engine temperature

1шт.

10

S27826M1

X

SENDING UNIT, engine oil pressure

1шт.

11

S63884

SWITCH

pressure - for warning light

1шт.

12

S217866M1

CABLE, Serial Range: battery-starter

1шт.

13

S81455

STRAP

ground

2шт.

S7385

INSTRUCTION

WASHER, flat - 1/2"

2шт.

S17169

INSTRUCTION

NUT - 1/2" NC

2шт.

14

BATTERY - 12 volt - (Purchase locally)

1шт.

15

S45608

STRAP

CABLE, battery ground

2шт.

S7385

INSTRUCTION

WASHER - 1/2"

2шт.

S17167

INSTRUCTION

NUT - 3/8" NC

2шт.

S605065

SCHEMATIC, electrical

1шт.

Выбрано товаров: 0