Запчасти Case 50 (090) - CAB AND ATTACHING PARTS, (INSULATION) (USED ON UNITS W/ CAB SN. A306825 AND BEFORE) (90) - PLATFORM, CAB, BODYWORK AND DECALS

Схема запчастей Case 50 - (090) - CAB AND ATTACHING PARTS, (INSULATION) (USED ON UNITS W/ CAB SN. A306825 AND BEFORE) (90) - PLATFORM, CAB, BODYWORK AND DECALS
FIT
1:1
100%

Артикул

Название

Примечание

Количество

S954969

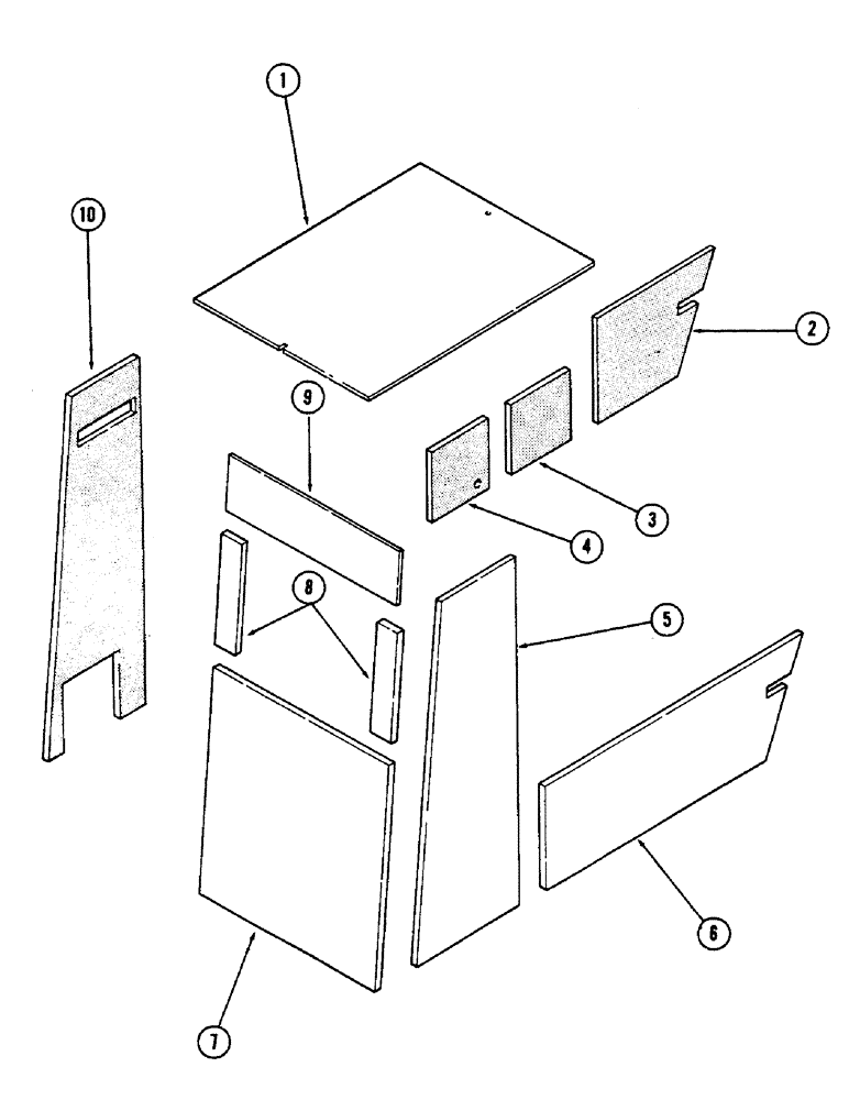
CAB

- operator (Includes refs listed below and figures 80 thru 88) (Order S956136 on figure 91A), Includes: Ref. 1 - 11

1шт.

1

S231409

SHROUD ASSY.

INSULATION - (Top)

1шт.

2

S108110

SLEEVE CYLINDER

INSULATION - (Lower left front)

1шт.

3

S108112

INSULATOR

INSULATION - door (Included in door assembly, ref 1 on figure 84)

1шт.

4

S108113

INSULATOR

INSULATION - door (Included in door assembly, ref 1 on figure 84)

1шт.

5

S108109

SLEEVE CYLINDER

INSULATION - (Right rear)

1шт.

6

S108108

SHROUD ASSY.

INSULATION - (Lower right front)

1шт.

7

S108105

SLEEVE CYLINDER

INSULATION - (Lower rear)

1шт.

8

S108107

SLEEVE CYLINDER

INSULATION - (Left and right rear)

2шт.

9

S108106

SLEEVE CYLINDER

INSULATION - (Rear top)

1шт.

10

S108111

SLEEVE CYLINDER

INSULATION - (Left rear)

1шт.

11

S95517

ADHESIVE

- (Not illustrated)

1шт.

Выбрано товаров: 12