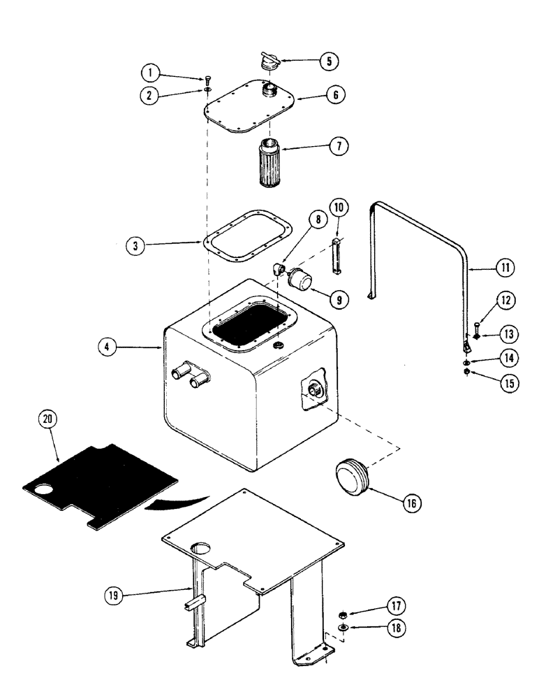
Запчасти Case 50 (214) - HYDRAULIC OIL TANK AND RELATED PARTS, (S/N 6279926 AND AFTER) (35) - HYDRAULIC SYSTEMS

Схема запчастей Case 50 - (214) - HYDRAULIC OIL TANK AND RELATED PARTS, (S/N 6279926 AND AFTER) (35) - HYDRAULIC SYSTEMS
FIT
1:1
100%

Артикул

Название

Примечание

Количество

NSS

NOT SOLD SEPARAT

TANK ASSEMBLY - hydraulic oil, Includes: Ref. 1 - 6

1шт.

Before ordering any replacement parts check tank profile some units used tank wit round corners. When tank is replaced on these units. Kit (ref 21) which includes tank with square corners must be ordered.

1шт.

1

113-101

BOLT,Hex, 5/16" - 18 x 1-1/2", Gr 5

12шт.

2

D26270

WASHER, SEALING

WASHER - seal

12шт.

3

S230621

GASKET

- cover

1шт.

4

NSS

NOT SOLD SEPARAT

TANK - hydraulic oil (Order kit S613285)

1шт.

5

S230688

CAP

1шт.

6

S230622

COVER

1шт.

7

S107379

FILTER, ENGINE OIL

STRAINER (100 mesh)

1шт.

8

221-1415

ELBOW,90 Degree, 3/4"-14, NPT

1шт.

9

S91864

BREATHER

(Supersedes S109723), Serial Range: -6280344

1шт.

10

S107269

GAUGE

GAGE - oil level

1шт.

11

S107404

STRAP - mounting

2шт.

12

113-219

BOLT,Hex, 3/8" - 16 x 2", Gr 5

4шт.

13

S108015

SPACER

4шт.

14

195-525

WASHER,3/8", SAE

- flat 3/8"

4шт.

15

131-52

NUT,3/8"-16, GC

NUT - self locking 3/8" NC

4шт.

16

S107145

DIFFUSER

2шт.

17

131-70

NUT,1/2"-13, GB

NUT - self locking 1/2" NC

4шт.

18

S95569

WASHER

- flat 1/2"

4шт.

19

S510155

BRACKET - tank mounting

1шт.

20

S510158

PAD - (Use with item 4)

1шт.

21

S613285

KIT

- hydraulic oil tank (Includes all refs to convert to square cornered tank)

1шт.

S616149

TANK

- hydraulic oil (Replaces S613279)

1шт.

S230688

CAP

1шт.

S236359

COVER

1шт.

1131-101

CPSW - 5/16" NC x 1/2" gr 5

4шт.

A75179

BREATHER

1шт.

S236134

- 90

2шт.

A14157

FLANGE

CLAMP - half flange

4шт.

S6315

O-RING,0.139" Thk x 1.859" ID, -225, Cl 5, 75 Duro

"O" RING - 1.859" ID x 2.137" OD

2шт.

113-481

BOLT,Locking, 1/2" - 13 x 1-1/4", Gr 5, Full Thd

CPSW - 1/2" NC x 1-1/4" gr 5

8шт.

192-23

LOCK WASHER,1/2"

WASHER, LOCK, 1/2"

8шт.

S114935

HOSE

- low pressure (Bulk) 1 piece 1-1/2" ID x 12" long (12")

1шт.

S114935

HOSE

- low pressure (Bulk) 1 piece 1-1/2" ID x 9" (9")

1шт.

S236327

TUBE - hydraulic 1.5" OD

1шт.

S236326

TUBE - hydraulic

1шт.

S233480

DECAL

- oil level

1шт.

S85429

CLAMP

- half flange

8шт.

S511855

CATALOG

DRAWING - installation instruction

1шт.

Выбрано товаров: 0