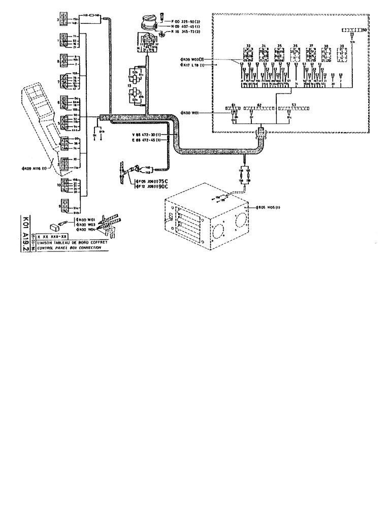
Запчасти Case 90BCL (314) - CONTROL PANEL BOX CONNECTION (06) - ELECTRICAL SYSTEMS

Схема запчастей Case 90BCL - (314) - CONTROL PANEL BOX CONNECTION (06) - ELECTRICAL SYSTEMS
FIT
1:1
100%

Артикул

Название

Примечание

Количество

KW01

1шт.

KW03

1шт.

KW04

1шт.

K9A116

1шт.

F32550

SCREW,M6 x 30mm

3шт.

N40745

PEDESTAL

1шт.

K1634573

NUT

3шт.

V8547233

HARNESS

1шт.

E8647245

HARNESS

1шт.

F5J06

75C

1шт.

F12J08

90C

1шт.

B5H05

1шт.

d1

KW03

1шт.

K17L78

1шт.

KW01

1шт.

Выбрано товаров: 15