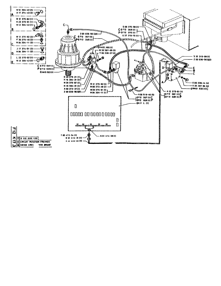
Запчасти Case 90BCL (201) - SWING CIRCUIT WITH BRAKE (07) - HYDRAULIC SYSTEM

Схема запчастей Case 90BCL - (201) - SWING CIRCUIT WITH BRAKE (07) - HYDRAULIC SYSTEM
FIT
1:1
100%

Артикул

Название

Примечание

Количество

N1230443

O-RING,23.47MM ID x 2.62MM OD

2шт.

A1737443

PLUG

2шт.

B1237562

END FITTING

1шт.

K2337591

UNION

1шт.

N1230443

O-RING,23.47MM ID x 2.62MM OD

1шт.

B1237562

END FITTING

3шт.

F3037546

UNION

3шт.

N430411

O-RING

3шт.

J1737451

PLUG

3шт.

N430411

O-RING

3шт.

L2337592

UNION

1шт.

N1230443

O-RING,23.47MM ID x 2.62MM OD

1шт.

Q37550

UNION

1шт.

c

F12D08

1шт.

p

F12D10

1шт.

U3731975

HOSE

1шт.

Z3656

PIPE

2шт.

Z3656

PIPE

8шт.

c

F12D07

1шт.

p

F12D09

1шт.

HM35H05

1шт.

W3528795

WASHER

2шт.

11106231

BOLT,Hex, M10 x 1.5 x 25mm, Cl 10.9

2шт.

S3231999

HOSE

1шт.

Z3656

PIPE

1шт.

Z3656

PIPE

5шт.

c

F12D07

1шт.

p

F12D09

1шт.

HA15D03

1шт.

D3037521

UNION

1шт.

H1630431

O-RING,0.103" Thk x 1.424" ID, -127, Cl 5, 75 Duro

1шт.

N3037507

FITTING

1шт.

H1630431

O-RING,0.103" Thk x 1.424" ID, -127, Cl 5, 75 Duro

1шт.

NLS

NO LONGER SERVICED

1шт.

Z3656

PIPE

1шт.

Z3656

PIPE

7шт.

B1237562

END FITTING

1шт.

M37248

TEE

1шт.

W3037561

FITTING

1шт.

N430411

O-RING

1шт.

120104

BOLT,Hex, M8 x 1.25 x 20mm, Cl 8.8

4шт.

V3528794

WASHER

4шт.

c

HM01E03

1шт.

A1237561

END FITTING

1шт.

c

F12D07

1шт.

p

F12D09

1шт.

N51946

CLAMP

5шт.

c

F12D07

1шт.

p

F12D09

1шт.

K17L

1шт.

T8547254

CABLE

1шт.

E141431

GLAND

1шт.

XXXXXXXX

1шт.

N141439

NUT

1шт.

Выбрано товаров: 54