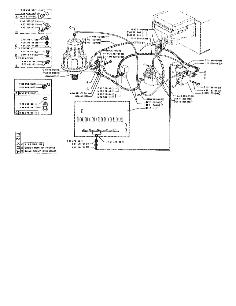
Запчасти Case 90BCL (202) - SWING CIRCUIT WITH BRAKE (07) - HYDRAULIC SYSTEM

Схема запчастей Case 90BCL - (202) - SWING CIRCUIT WITH BRAKE (07) - HYDRAULIC SYSTEM
FIT
1:1
100%

Артикул

Название

Примечание

Количество

S945293

WASHER, SEALING

SEAL WASHER

2шт.

XXXXXXXX

2шт.

U1337445

PLUG

2шт.

C4037537

END FITTING

1шт.

K2337591

UNION

1шт.

N1230443

O-RING,23.47MM ID x 2.62MM OD

1шт.

C4037537

END FITTING

3шт.

F3037546

UNION

3шт.

N430411

O-RING

3шт.

C1437456

PLUG

3шт.

XXXXXXXX

3шт.

U945295

GASKET

3шт.

L2337592

UNION

1шт.

XXXXXXXX

1шт.

S945293

WASHER, SEALING

SEAL WASHER

1шт.

T945294

GASKET

1шт.

XXXXXXXX

1шт.

D3037521

UNION

1шт.

T945294

GASKET

1шт.

XXXXXXXX

1шт.

N3037507

FITTING

1шт.

Q37550

UNION

1шт.

c

F12D08

1шт.

p

F12D10

1шт.

U3731975

HOSE

1шт.

J1103640

PIPE

2шт.

J1103640

PIPE

8шт.

c

F12D07

1шт.

p

F12D09

1шт.

HM35H05

1шт.

W3528795

WASHER

2шт.

11106231

BOLT,Hex, M10 x 1.5 x 25mm, Cl 10.9

2шт.

S3231999

HOSE

1шт.

J1103640

PIPE

1шт.

J1103640

PIPE

5шт.

c

F12D07

1шт.

p

F12D09

1шт.

HA15D03

1шт.

NLS

NO LONGER SERVICED

1шт.

J1103640

PIPE

1шт.

J1103640

PIPE

7шт.

C4037537

END FITTING

1шт.

M37248

TEE

1шт.

W3037561

FITTING

1шт.

N430411

O-RING

1шт.

120104

BOLT,Hex, M8 x 1.25 x 20mm, Cl 8.8

4шт.

V3528794

WASHER

4шт.

c

HM01E03

1шт.

A1237561

END FITTING

1шт.

c

F12D07

1шт.

p

F12D09

1шт.

N51946

CLAMP

5шт.

c

F12D07

1шт.

p

F12D09

1шт.

K17L

1шт.

T8547254

CABLE

1шт.

E141431

GLAND

1шт.

XXXXXXXX

1шт.

N141439

NUT

1шт.

Выбрано товаров: 59