Запчасти Case 90BCL (310) - FILTER 300L (07) - HYDRAULIC SYSTEM

Схема запчастей Case 90BCL - (310) - FILTER 300L (07) - HYDRAULIC SYSTEM
FIT
1:1
100%

Артикул

Название

Примечание

Количество

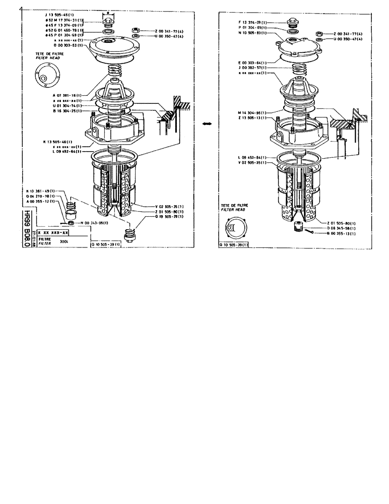
J1350545

COVER

1шт.

M1737431

PLUG

052

1шт.

F1337409

PLUG

045

1шт.

G146079

SEAL

052

1шт.

P130469

O-RING,40.95MM ID x 2.62MM Width

045

1шт.

XXXXXXXX

1шт.

D30363

O-RING

1шт.

A738116

COMPRESSION SPRING

1шт.

XXXXXXXX

1шт.

U130474

O-RING

1шт.

B1630425

O-RING

1шт.

K1350546

BODY

1шт.

XXXXXXXX

1шт.

L945264

WASHER, SEALING

SEAL WASHER

1шт.

K1338149

COMPRESSION SPRING

1шт.

Q427078

SUPPORT

1шт.

NLS

NO LONGER SERVICED

1шт.

N34305

NUT

1шт.

Z34177

NUT

4шт.

U35047

WASHER

4шт.

V250535

FILTER COVER

1шт.

Z150580

FILTER, ENGINE OIL

FILTER, OIL

1шт.

Q1950529

SET OF PARTS

1шт.

Q1050539

FILTER, ENGINE OIL

FILTER, OIL

1шт.

F1337409

PLUG

1шт.

P130469

O-RING,40.95MM ID x 2.62MM Width

1шт.

N1050583

COVER

1шт.

E30364

O-RING

1шт.

J38257

SPRING

1шт.

XXXXXXXX

1шт.

M1430496

O-RING

1шт.

Z1350513

BODY

1шт.

L945264

WASHER, SEALING

SEAL WASHER

1шт.

V250535

FILTER COVER

1шт.

Z34177

NUT

4шт.

U35047

WASHER

4шт.

Z150580

FILTER, ENGINE OIL

FILTER, OIL

1шт.

D834558

NUT

1шт.

B35513

SPLIT PIN

1шт.

Q1050539

FILTER, ENGINE OIL

FILTER, OIL

1шт.

Выбрано товаров: 40