Запчасти Case 340B (18A00000597[001]) - SOLENOID, GEARBOX (87453824) (03) - Converter / Transmission

Схема запчастей Case 340B - (18A00000597[001]) - SOLENOID, GEARBOX (87453824) (03) - Converter / Transmission
110
090
030
020
030
080
010
010
150
060
090
160
070
020
050
130
100
020
030
180
020
040
140
010
010
080
080
140
120
090
FIT
1:1
100%

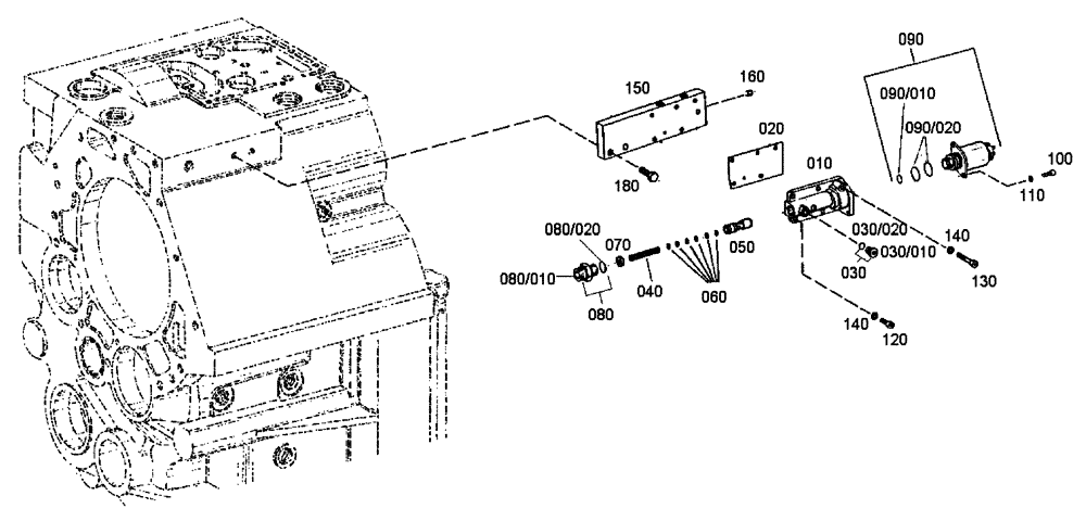
Артикул

Название

Примечание

Количество

010

8963100710

BOX

1шт.

012

8963100701

HYD CONNECTOR

1шт.

020

8900126987

GASKET

1шт.

Include(s) 030/010, 030/020

1шт.

030/010

8963100609

PLUG

1шт.

030/020

8603215

O-RING,8mm ID x 1.5mm Width

1шт.

040

8963100698

SPRING

1шт.

050

8963100697

SPOOL

1шт.

060

8963100691

SHIM

6шт.

070

8900126988

LOCKING RING

1шт.

070

8900125345

LOCKING RING

1шт.

Include(s) 080/010, 080/020

1шт.

080/010

8963100701

HYD CONNECTOR

1шт.

080/020

8963100700

SEALING RING

1шт.

090

8900120941

SOLENOID

Lock-up, Clutch

1шт.

Include(s) 090/010, 090/020

1шт.

090/010

8900108499

SEALING RING

1шт.

090/020

8900108498

SEALING RING

2шт.

100

86625213

HEX SOC SCREW,M5 x 12mm, Cl 8.8

2шт.

110

8963100708

SPRING WASHER

2шт.

120

8963100711

BOLT,M6 x 20mm

4шт.

130

8900125346

SCREW,M6 x 40mm

1шт.

140

8963100665

WASHER

5шт.

150

8900126989

COVER

1шт.

160

8900125348

PLUG

M8 x 8

1шт.

180

8900126990

BOLT

M8 x 30

2шт.

Выбрано товаров: 26