Запчасти Case 340B (47A00002027[001]) - AIR TANKS, BRAKE SYSTEM (87585650) (09) - Implement / Hydraulics / Frame / Brakes

Схема запчастей Case 340B - (47A00002027[001]) - AIR TANKS, BRAKE SYSTEM (87585650) (09) - Implement / Hydraulics / Frame / Brakes
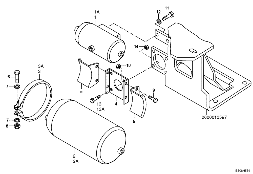
0600010597
5
9
12
11
4
10
6
5
7
14
3a
13a
1
3
13
7
1a
8
2
2a
FIT
1:1
100%

Артикул

Название

Примечание

Количество

1

89504047686

AIR TANK

If Used

1шт.

1a

89500404034

AIR TANK

Brake System; If Used

1шт.

2

89504047700

AIR TANK

If Used

1шт.

2a

89500404036

AIR TANK

Brake System; If Used

1шт.

3

8900163884

COLLAR

If Used

2шт.

3a

8900113194

CLAMP

Band; If Used

2шт.

4

89500414895

BRACKET

1шт.

5

8998434930

BRACKET

2шт.

6

8900141323

BOLT

M10 x 1.5 x 40

2шт.

7

8900113173

WASHER

4шт.

8

8900025351

NUT

M10

2шт.

9

8900116549

BOLT

M8 x 20

4шт.

10

8900115122

NUT

4шт.

11

8900140406

BOLT

M12 x 1.75 x 30

2шт.

12

8900115529

LOCK WASHER

12

2шт.

13

8900115589

BOLT

M10 x 30; If Used

4шт.

13a

8918139525

SCREW,M10 x 30mm

M10 x 30; If Used

4шт.

14

8900140777

NUT

4шт.

Выбрано товаров: 18