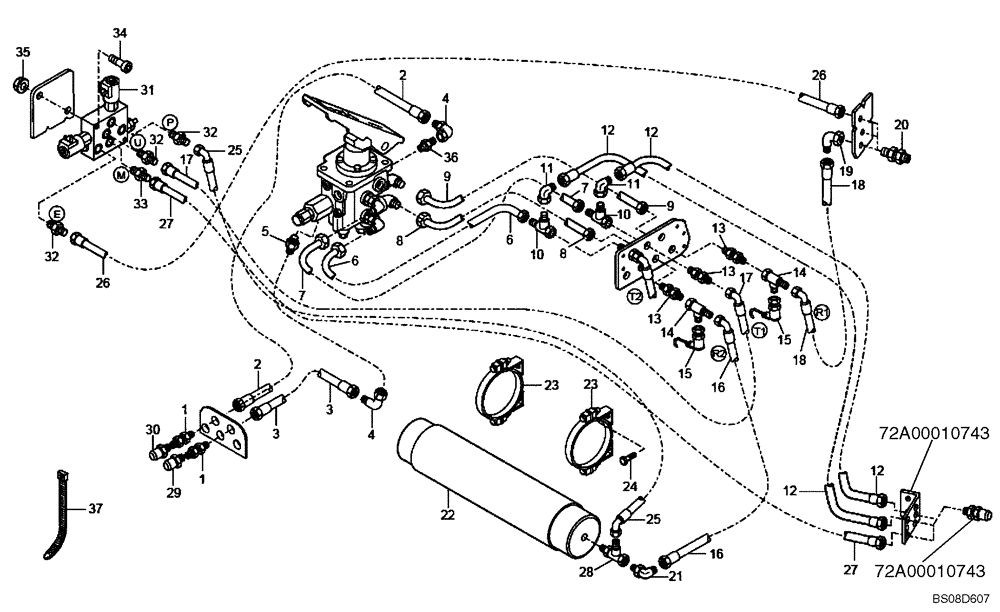
Запчасти Case 340B (47A01002195[001]) - HYDRAULIC CIRCUIT, PARKING BRAKE (SUPPLEMENTAL) (87482785) (09) - Implement / Hydraulics / Frame / Brakes

Схема запчастей Case 340B - (47A01002195[001]) - HYDRAULIC CIRCUIT, PARKING BRAKE (SUPPLEMENTAL) (87482785) (09) - Implement / Hydraulics / Frame / Brakes
32
12
14
22
4
12
36
72a00010743
8
15
6
23
11
9
29
18
35
8
27
5
25
13
4
9
14
6
21
72a00010743
19
18
2
3
34
12
3
12
13
26
16
2
17
10
30
1
31
32
16
27
26
24
17
32
7
7
37
10
20
25
1
13
15
23
11
33
28
FIT
1:1
100%

Артикул

Название

Примечание

Количество

1

89500418521

HYD CONNECTOR

2шт.

2

89500418514

HOSE,2.00 mm ID x 750.00 mm

1шт.

3

89500418522

HOSE

1шт.

4

89500406107

CONNECTION

2шт.

5

89500418038

HYD CONNECTOR

1шт.

6

89500407583

PIPE

1шт.

7

89500407584

PIPE

1шт.

8

89500407587

PIPE

1шт.

9

89500407588

PIPE

1шт.

10

89500409178

HYD CONNECTOR

TEE

2шт.

11

89500406107

CONNECTION

ELBOW

2шт.

12

89500409319

HOSE,2.00 mm ID x 3340.00 mm

2шт.

13

89500407662

HYD CONNECTOR

3шт.

14

89500410770

HYD CONNECTOR

TEE

2шт.

15

8900183360

SWIVEL CONNECTION

2шт.

16

89500407782

HOSE

1шт.

17

89500407781

HOSE

1шт.

18

89500407783

HOSE

1шт.

19

89500406107

CONNECTION

ELBOW

1шт.

20

89500406220

HYD CONNECTOR

3шт.

21

89500406107

CONNECTION

ELBOW

1шт.

22

89500418766

ACCUMULATOR

1шт.

23

89500423533

CLAMP

BAND

2шт.

24

8900121098

BOLT,M8 x 16mm

M8 x 16

4шт.

25

89500407755

HOSE,9.65 mm ID x 1300.00 mm

1шт.

26

89500407786

HOSE

1шт.

27

89500408976

HOSE

1шт.

28

89500407997

TEE

1шт.

29

89500409099

SWITCH

1шт.

30

89500418601

PRESSURE SWITCH

ACCUMULATOR

1шт.

31

89500408916

VALVE

1шт.

32

89500406116

CONNECTION

3шт.

33

89500408181

CONNECTION

1шт.

34

8900108856

BOLT

M6 x 50

2шт.

35

8900125009

NUT

2шт.

36

89500406131

HYD CONNECTOR

1шт.

37

8900150511

COLLAR

STRAP BAND

1шт.

Выбрано товаров: 37