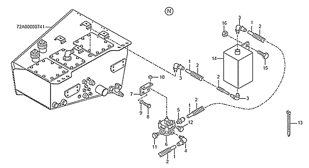
Запчасти Case 340B (49A04001027[001]) - OIL SEPARATOR, FRONT FRAME ( N ) PNEUMATICS (87612820) (09) - Implement / Hydraulics / Frame / Brakes

Схема запчастей Case 340B - (49A04001027[001]) - OIL SEPARATOR, FRONT FRAME ( N ) PNEUMATICS (87612820) (09) - Implement / Hydraulics / Frame / Brakes
9
8
6
3
10
5
3
2
2
2
4
2
15
11
2
12
16
14
3
7
1
13
1
1
1
FIT
1:1
100%

Артикул

Название

Примечание

Количество

1

8900095213

PLASTIC-RUBBER TUBE

D.9 x 12

1шт.

Use As Required

1шт.

2

8900095201

TUBE

D.12.7X15.8

1шт.

Use As Required

1шт.

3

8900117283

HYD CONNECTOR

Qty Was 2

2-3шт.

4

8900117284

HYD CONNECTOR

1шт.

5

8900117246

HYD CONNECTOR

1шт.

6

89500408455

VALVE

1шт.

7

89500401257

SUPPORT

1шт.

8

8900140738

BOLT

M8 x 20

2шт.

9

8900956220

LOCK WASHER

2шт.

10

8900115122

NUT

2шт.

11

8900040169

PLUG

1шт.

12

8900045515

PLUG

1шт.

13

8900150511

COLLAR

1шт.

14

89500418735

SEPARATOR

1шт.

15

8918139525

SCREW,M10 x 30mm

M10 x 30

2шт.

16

8916984335

NUT

2шт.

Выбрано товаров: 18