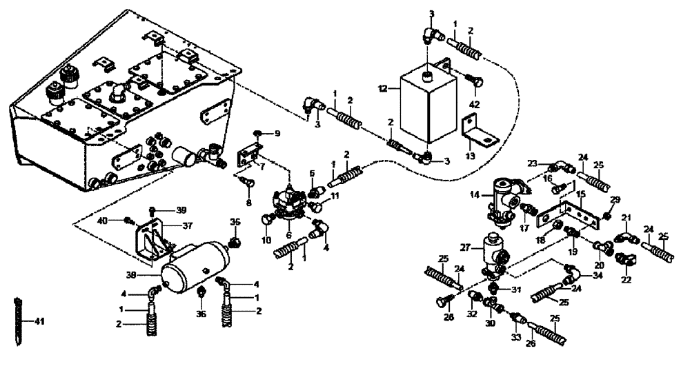
Запчасти Case 340B (49A04041027[001]) - PNEUMATICS - FRONT FRAME (P.I.N. HHD0340BN7PG58147 AND AFTER) (84244089) (09) - Implement / Hydraulics / Frame / Brakes

Схема запчастей Case 340B - (49A04041027[001]) - PNEUMATICS - FRONT FRAME (P.I.N. HHD0340BN7PG58147 AND AFTER) (84244089) (09) - Implement / Hydraulics / Frame / Brakes
4
37
25
1
36
11
36
14
10
2
7
25
41
2
6
24
2
1
3
1
8
2
16
1
3
24
31
1
40
2
17
26
32
25
28
2
34
5
24
2
30
23
13
25
15
21
27
17
24
9
1
18
22
25
42
33
39
4
20
4
29
12
38
3
FIT
1:1
100%

Артикул

Название

Примечание

Количество

1

8900095213

PLASTIC-RUBBER TUBE

1шт.

2

8900095201

TUBE

1шт.

3

8900117283

HYD CONNECTOR

3шт.

4

8900117284

HYD CONNECTOR

3шт.

5

8900117246

HYD CONNECTOR

1шт.

6

89500408455

VALVE

1шт.

7

89500401257

SUPPORT

1шт.

8

8900116549

BOLT

1шт.

9

8900115122

NUT

2шт.

10

8900040169

PLUG

2шт.

11

8900045515

PLUG

1шт.

12

89500418735

SEPARATOR

1шт.

13

8900174917

SUPPORT

1шт.

14

89500425818

VALVE

1шт.

15

89500427439

BRACKET

1шт.

16

8900121098

BOLT,M8 x 16mm

2шт.

17

8900189552

HYD CONNECTOR

1шт.

18

8900117265

NUT

1шт.

19

8900121507

HYD CONNECTOR

1шт.

20

8900121520

HYD CONNECTOR

1шт.

21

8900121565

HYD CONNECTOR

1шт.

22

8900117266

HYD CONNECTOR

1шт.

23

8900121042

HYD CONNECTOR

1шт.

24

8900095210

PLASTIC-RUBBER TUBE

1шт.

25

8900095153

FLEXIBLE SHEATH

1шт.

26

8900095211

HOSE

1шт.

27

8900172896

PNEUMATIC VALVE

1шт.

28

8900045316

BOLT,M8 x 60mm

2шт.

29

8900179410

NUT

2шт.

30

8900121521

HYD CONNECTOR

1шт.

31

8900121514

HYD CONNECTOR

1шт.

32

8900117241

HYD CONNECTOR

1шт.

33

8900117244

HYD CONNECTOR

1шт.

34

8900121039

ELBOW

1шт.

35

8900117258

PLUG

1шт.

36

8900055240

VALVE

1шт.

37

89500430653

BRACKET

1шт.

38

89500404034

AIR TANK

1шт.

39

8900115555

BOLT,M8 x 30mm

3шт.

40

8900121586

SCREW,M12 x 25mm

3шт.

41

8900150511

COLLAR

1шт.

42

8900116549

BOLT

2шт.

Выбрано товаров: 42