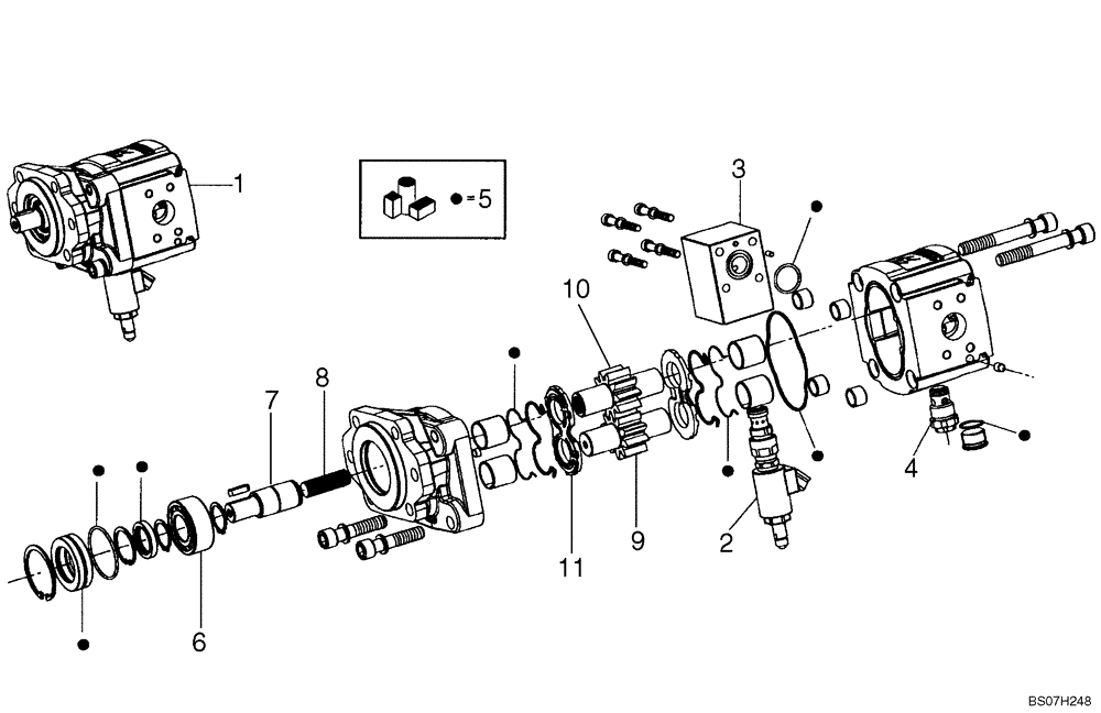
Запчасти Case 340B (04B00000034[001]) - FAN MOTOR, HYDRAULIC (89500408149) (01) - ENGINE

Схема запчастей Case 340B - (04B00000034[001]) - FAN MOTOR, HYDRAULIC (89500408149) (01) - ENGINE
1
7
2
11
3
5
8
9
10
6
4
FIT
1:1
100%

Артикул

Название

Примечание

Количество

1

89500408149

HYDRAULIC MOTOR

1шт.

Include(s) 5 - 11

1шт.

2

8900133320

VALVE PRESSURE RELIE

1шт.

3

8900133321

INSERT

1шт.

4

8900133322

BREATHER

1шт.

5

8900133324

SEAL KIT

1шт.

6

8900134447

BEARING

1шт.

7

8900134448

SHAFT

1шт.

8

8900134449

SHAFT

1шт.

9

8900134450

GEAR

1шт.

10

8900134451

GEAR

1шт.

11

8900134452

THRUST PLATE

2шт.

Выбрано товаров: 12