Запчасти Case 340B (10A00020697[001]) - TANK, FUEL (87585142) (01) - ENGINE

Схема запчастей Case 340B - (10A00020697[001]) - TANK, FUEL (87585142) (01) - ENGINE
10
1
2
1
9
12
3
1
1
8
1
5
1
5
1
4
1
1
1
11
4
6
3
8
1
7
10
FIT
1:1
100%

Артикул

Название

Примечание

Количество

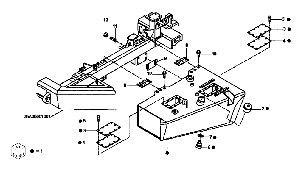
1

89500420699

FUEL TANK

1шт.

Include(s) 2 -7

1шт.

2

89500424555

CAP

Replaces 89500418987 And 89500424555 Cap, Fuel

1шт.

3

89500418938

COVER

2шт.

4

89500424408

GASKET

Replaces 89500418937 Gasket With 10 Mounting Holes x 4mm Thick Used On Some Models

2шт.

5

8900116549

BOLT

M8 x 20

20шт.

6

8900008638

MAGNETIC PLUG

1шт.

7

89500402288

GASKET

Replaces 8900005327 Ring Copper Used On Some Models

1шт.

8

89500420581

SHIM

6шт.

9

89500420582

SHIM

6шт.

10

8900124156

BOLT

M14 x 50

6шт.

11

89500423416

STUD

M16 x 1.5 x 35 Replaces 8900055764 Stud M16 x 1.5 x 35

8шт.

12

8941021376

NUT

8шт.

Выбрано товаров: 13