Запчасти Case 325 (3.413A[10]) - DISTRIBUTOR (09) - Implement / Hydraulics / Frame / Brakes

Схема запчастей Case 325 - (3.413A[10]) - DISTRIBUTOR (09) - Implement / Hydraulics / Frame / Brakes
17
16
17
19
26
24
3
21
4
7
19
13
14
8
5
6
7
23
10
20
11
12
15
1
5
27
21
25
20
6
16
9
19
24
18
4
22
14
28
FIT
1:1
100%

Артикул

Название

Примечание

Количество

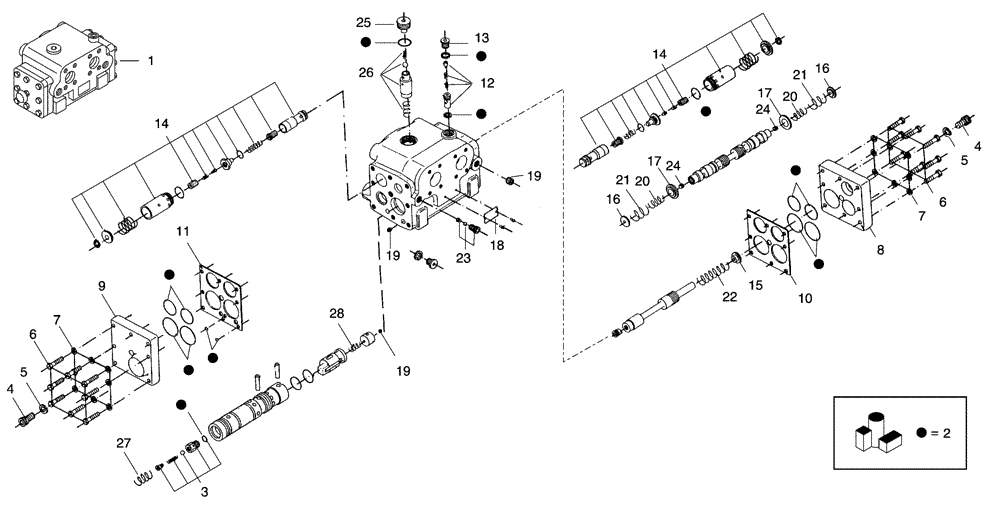
1

8900194527

CONTROL VALVE

1шт.

Include : 2 to 28

1шт.

2

8900128537

SEAL KIT

1шт.

3

8900128538

VALVE POPPET

1шт.

4

8900128539

BOLT

2шт.

5

8900128540

LOCK WASHER

2шт.

6

8900128541

BOLT

16шт.

7

8900128542

LOCK WASHER

16шт.

8

8900128543

COVER

1шт.

9

8900128544

COVER

1шт.

10

8900128545

PLATE

1шт.

11

8900128546

PLATE

1шт.

12

8900128547

SAFETY VALVE

1шт.

13

8900128548

PLUG

1шт.

14

8900128549

HYDRAULIC VALVE

2шт.

15

8900128550

PLUG

1шт.

16

8900128551

PLUG

2шт.

17

8900128552

GUIDE

2шт.

18

NSS

NOT SOLD SEPARAT

1шт.

19

8900128554

BREATHER

3шт.

20

8900128555

SPRING

2шт.

21

8900128556

SPRING

2шт.

22

8900128557

SPRING

1шт.

23

NSS

NOT SOLD SEPARAT

1шт.

24

8900128559

BREATHER

2шт.

25

8900128560

PLUG

1шт.

26

8900128561

HYDRAULIC VALVE

1шт.

27

8900128562

SPRING

1шт.

28

8900128563

SPRING

1шт.

Выбрано товаров: 29