Запчасти Case 325 (3.459/1[01]) - MAIN FRAME ARTICULATION (09) - Implement / Hydraulics / Frame / Brakes

Схема запчастей Case 325 - (3.459/1[01]) - MAIN FRAME ARTICULATION (09) - Implement / Hydraulics / Frame / Brakes
15
6
12
4
13
7
7
14
6
12
5
6
14
15
11
5
10
13
7
4
2
9
8
11
1
9
7
6
10
FIT
1:1
100%

Артикул

Название

Примечание

Количество

REF

INSTRUCTION

If Equipped; Refer To Service Bulletin NAT SB 002.1 11

1шт.

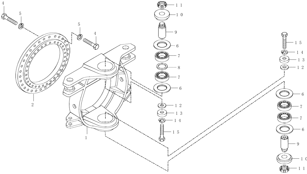
1

8900127925

PIVOT

1шт.

2

89500403881

BEARING

Bearing measures 63MM THK w/o Offset, and 75MM w/ Offset

1шт.

2

89500409410

BALL BEARING,370mm ID x 580mm OD x 106mm W

If Used Thickness Of Bearing Is 106MM

1шт.

4

8900124566

BOLT

M20 x 100

48шт.

5

8900140552

COLLAR

48шт.

6

8960460015

GASKET

4шт.

7

8960410002

BEARING,60mm ID x 125mm OD x 37mm W

4шт.

8

8960530031

SPACER

1шт.

9

8900195111

PIN,60mm OD x 155mm L

2шт.

10

8900195113

SPACER

2шт.

11

8900107578

LOCK NUT

2шт.

12

8998196236

SHIM

1.000 mm

1шт.

Black

1шт.

12

8998196237

SHIM

0.035 mm

1шт.

White

1шт.

12

8998196238

SHIM

0.010 mm

1шт.

Orange

1шт.

12

8998196239

SHIM

0.005 mm

1шт.

Blue

1шт.

13

8900195114

WASHER

2шт.

14

8900140503

COLLAR

2шт.

15

8900195128

BOLT

M24 x 2 x 60

2шт.

Выбрано товаров: 23