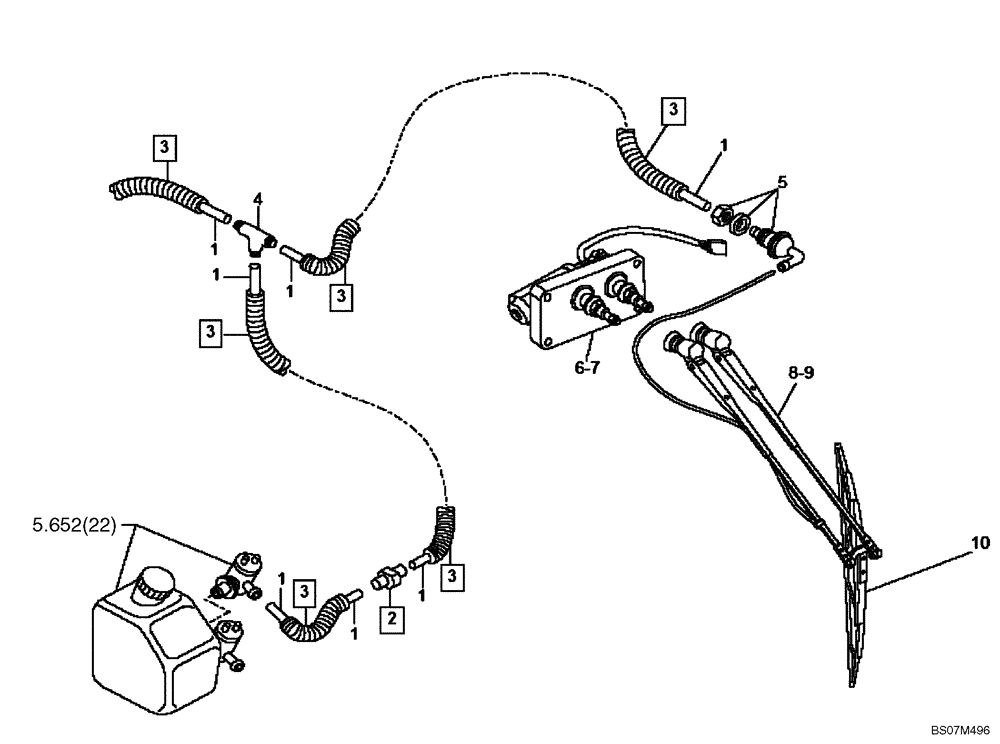
Запчасти Case 325 (5.652[10]) - WINDSHIELD WASHER - SIDE WINDSCREEN WIPER (87458275) (10) - Cab/Cowlings

Схема запчастей Case 325 - (5.652[10]) - WINDSHIELD WASHER - SIDE WINDSCREEN WIPER (87458275) (10) - Cab/Cowlings
3
10
4
3
2
3
5
1
1
1
1
3
3
1
6-7
8-9
3
5.652(22)
1
1
FIT
1:1
100%

Артикул

Название

Примечание

Количество

1

8900095169

HOSE

1шт.

2

8900195432

HYDRAULIC VALVE

1шт.

3

8900095153

FLEXIBLE SHEATH

TUBE; Replaces 8900095169 Hose Plastic Used On Some Models

1шт.

4

8900127238

HYD CONNECTOR

1шт.

5

8900127250

HYD CONNECTOR

1шт.

6

8900128934

WIPER MOTOR

1шт.

7

8900128935

WIPER MOTOR

1шт.

8

8900128936

ARM

1шт.

9

8900128937

ARM

1шт.

10

8900128938

WIPER BLADE

2шт.

Выбрано товаров: 10