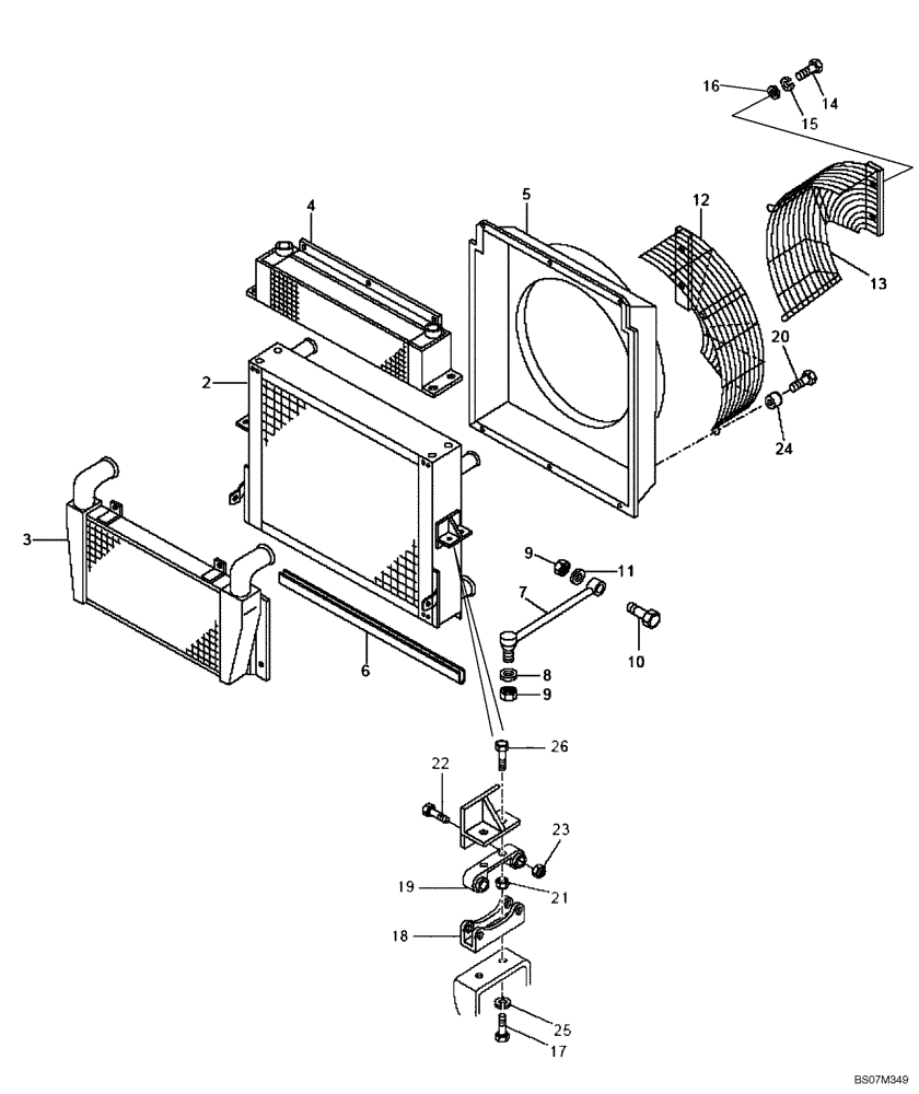
Запчасти Case 325 (0.550/1[01B]) - ENGINE COOLING SYSTEM - RADIATOR (87618528) (325 NA / PIN HHD000110 AND AFTER) (01) - ENGINE

Схема запчастей Case 325 - (0.550/1[01B]) - ENGINE COOLING SYSTEM - RADIATOR (87618528) (325 NA / PIN HHD000110 AND AFTER) (01) - ENGINE
26
23
25
6
10
22
5
9
19
11
18
15
7
17
2
9
8
20
3
24
12
13
16
14
4
21
FIT
1:1
100%

Артикул

Название

Примечание

Количество

1

89500403260

RADIATOR

ASSY; Incl 2 - 5

1шт.

2

89500403356

RADIATOR

1шт.

3

89500403220

INTERCOOLER

1шт.

4

89500403214

COOLER, OIL

1шт.

5

89500403261

DEFLECTOR

1шт.

6

8998196852

GASKET

1шт.

7

8941001646

TIE-ROD

2шт.

8

8900141697

WASHER

2шт.

9

8900016391

NUT

4шт.

10

8900056265

BOLT

2шт.

11

8904598124

COLLAR

2шт.

12

89500404092

SHIELD

1шт.

13

89500404091

SHIELD

1шт.

14

8900140738

BOLT

M8 x 20

2шт.

15

8900956220

LOCK WASHER

2шт.

16

8900141697

WASHER

2шт.

17

8916288524

BOLT

M10 x 1.25 x 30

4шт.

18

8900110483

SEAT/SLOT

2шт.

19

8900110485

BRACKET

2шт.

20

8900124669

BOLT

M10 x 40

4шт.

21

8900124670

NUT

M10

4шт.

22

8900045521

BOLT

M14 x 80

4шт.

23

8900101945

LOCK NUT

4шт.

24

8900181843

SPACER

4шт.

25

8900001049

LOCK WASHER

4шт.

26

8900115589

BOLT

M10 x 30

4шт.

Выбрано товаров: 26