Запчасти Case 325 (0.550/1[02A]) - ENGINE COOLING SYSTEM - PIPING (325 EU / PIN 455275 AND AFTER) (325 NA / PIN HHD000108 AND AFTER) (01) - ENGINE

Схема запчастей Case 325 - (0.550/1[02A]) - ENGINE COOLING SYSTEM - PIPING (325 EU / PIN 455275 AND AFTER) (325 NA / PIN HHD000108 AND AFTER) (01) - ENGINE
19
18
8
4
16
17
26
9
8
16
24
1
21
3
20
5
16
10
16
12
11
15
28
2
16
17
7
16
13
27
11
16
10
17
17
14
23
9
22
25
FIT
1:1
100%

Артикул

Название

Примечание

Количество

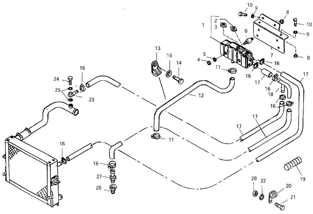
1

8900152343

RESERVOIR, COOLANT E

1шт.

2

8900112131

RADIATOR CAP

1шт.

3

8900112130

RADIATOR CAP

0.7-BAR

1шт.

4

8900016391

NUT

8шт.

5

8900141697

WASHER

8шт.

6

8900174439

INSULATOR BLOCK

4шт.

7

8998196884

BRACKET

1шт.

8

8900016391

NUT

6шт.

9

8900141697

WASHER

6шт.

10

8900140738

BOLT

M8X20

6шт.

11

8900110494

COLLAR

2шт.

12

8900095144

HOSE

1шт.

13

8917317590

COLLAR

2шт.

14

8900001826

BOLT

M8 x 16

2шт.

15

8900141697

WASHER

2шт.

16

8900006878

COLLAR

8шт.

17

8900095143

HOSE

Order To Meter

1шт.

18

8900173674

TUBE,10 mm DIA x 70, 50 mm L

1шт.

19

8900095181

FLEXIBLE SHEATH

1шт.

20

8900163658

COLLAR

M6 x 16

2шт.

21

8900140729

BOLT

2шт.

22

8900140731

WASHER

2шт.

23

8900957443

HYD CONNECTOR

1шт.

24

8900955155

BANJO BOLT

1шт.

25

8900030874

COPPER SEAL

1шт.

26

8900195390

ADAPTER

1шт.

27

8900192991

HYD CONNECTOR

1шт.

28

8900101322

NUT

M6

2шт.

Выбрано товаров: 28