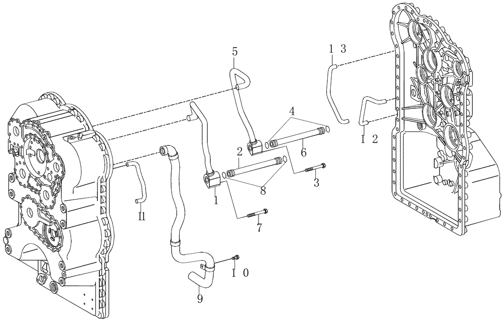
Запчасти Case 325 (1.211/1[08]) - TRANSMISSION - COMPONENTS (03) - Converter / Transmission

Схема запчастей Case 325 - (1.211/1[08]) - TRANSMISSION - COMPONENTS (03) - Converter / Transmission
7
8
3
12
1
4
1
9
13
5
2
10
1
6
FIT
1:1
100%

Артикул

Название

Примечание

Количество

1

331690A1

PIPE

1шт.

2

331692A1

PIPE

1шт.

3

8900120481

SCREW,M8 x 55mm

M8X55

1шт.

4

8603323

O-RING

2шт.

5

331693A1

PIPE

1шт.

6

331692A1

PIPE

1шт.

7

8900120481

SCREW,M8 x 55mm

M8X55

1шт.

8

8603323

O-RING

2шт.

9

8603471

TUBE

1шт.

10

8603306

SCREW,M8 x 12mm

M8X12

1шт.

11

331694A1

PIPE

1шт.

12

331695A1

PIPE

1шт.

13

331697A1

PIPE

1шт.

Выбрано товаров: 13