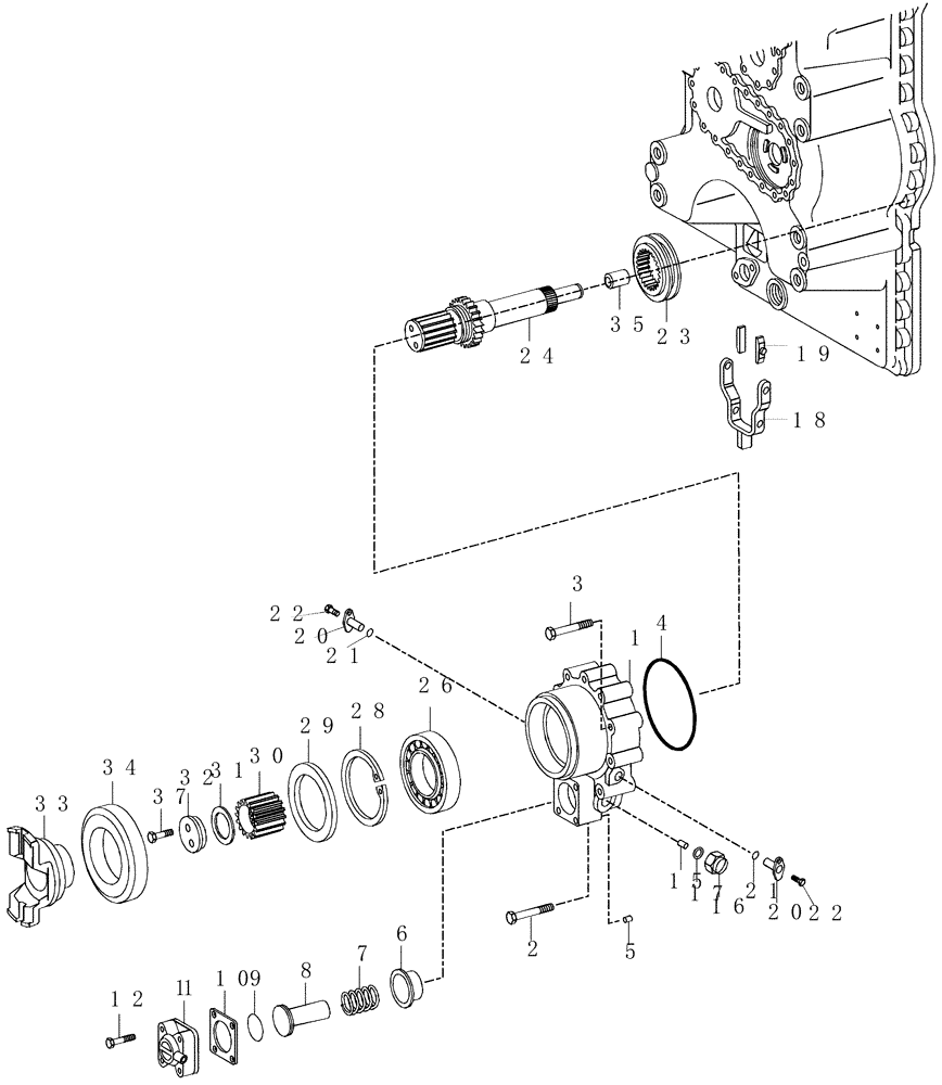
Запчасти Case 325 (1.211/1[16A]) - TRANSMISSION - COMPONENTS - RETARDER OPTION (03) - Converter / Transmission

Схема запчастей Case 325 - (1.211/1[16A]) - TRANSMISSION - COMPONENTS - RETARDER OPTION (03) - Converter / Transmission
24
1
21
21
10
7
34
16
23
2
4
12
26
15
33
29
18
9
20
30
37
28
35
31
19
5
20
22
22
8
1
6
1
32
17
3
FIT
1:1
100%

Артикул

Название

Примечание

Количество

1

8900128384

HALF-BOX

1шт.

2

8900125242

SCREW,M12 x 80mm

M12X8

2шт.

3

8900125243

SCREW,M12

M12X75

7шт.

4

8900125244

GASKET

1шт.

5

8900125245

DOWEL

M6X8

1шт.

6

8900125246

BUSHING

1шт.

7

8900125247

SPRING

1шт.

8

8900125248

PLUNGER

1шт.

9

8900125249

SHIM

1шт.

10

8900125250

GASKET

1шт.

11

8900125251

COVER

1шт.

12

8603310

SCREW,M8 x 45mm, Cl 10.9

4шт.

15

8900125253

GUIDE PIN

1шт.

16

8963100080

SENSOR

1шт.

17

8900125254

GASKET

1шт.

18

8900129719

SHIFTER FORK

1шт.

19

8963100059

SLIDING PAD

2шт.

20

8900125256

PIN

2шт.

21

8900125257

GASKET

2шт.

22

8900125258

BOLT

M6X10

2шт.

23

8900125259

NEEDLE BEARING

1шт.

24

8900125260

SHAFT

1шт.

26

82848326

BEARING

1шт.

28

8963100503

SNAP RING

1шт.

29

8963100505

SEAL

1шт.

30

8963100534

BUSHING

1шт.

31

8900125274

SHIM

1шт.

32

8900125275

COVER PLATE

1шт.

33

8900125277

FLANGE

(34 Splines, Mounting Holes CTC 4.57" and 1.94")

1шт.

34

8900128388

DUST CAP

1шт.

35

8963100528

NEEDLE BEARING

1шт.

37

100270A1

BOLT

M10X25

2шт.

Выбрано товаров: 32