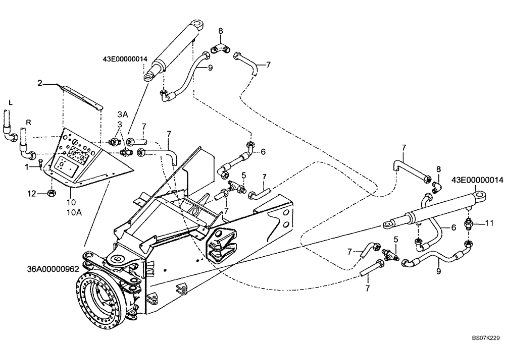
Запчасти Case 327B (43A03000853[001]) - HYDRAULIC STEERING CIRCUIT / FRAME (87557509) (09) - Implement / Hydraulics / Frame / Brakes

Схема запчастей Case 327B - (43A03000853[001]) - HYDRAULIC STEERING CIRCUIT / FRAME (87557509) (09) - Implement / Hydraulics / Frame / Brakes
FIT
1:1
100%

Артикул

Название

Примечание

Количество

1

8900115589

BOLT

Qty Was 11; Replaces 8900115589 Bolt

7-11шт.

2

89500415204

COVER

1шт.

3

89500418020

HYD CONNECTOR

If Used

2шт.

3a

89500418020

HYD CONNECTOR

If Used; Threaded End 13/16" - 16 UNF, Connector 58mm Length

2шт.

4

89500417420

HOSE ASSY.

Not Illustrated; No Longer Available Order 89500417421 Hose Assy

2шт.

5

89500410772

HYD CONNECTOR

2шт.

6

89500417425

HOSE ASSY.

2шт.

7

89500417421

HOSE ASSY.

Qty Was 2

2-4шт.

8

89500417584

ELBOW

2шт.

9

89500417426

HOSE ASSY.

2шт.

10

89500411768

BRACKET

If Used

1шт.

10a

89500411769

COVER

If Used

1шт.

11

89500408454

HYD CONNECTOR

If Used

4шт.

12

8900140777

NUT

If Used

7шт.

Выбрано товаров: 14