Запчасти Case 327B (94A01000522[001]) - GREASE CIRCUIT, AUTOMATIC - REAR FRAME (87567931) (09) - Implement / Hydraulics / Frame / Brakes

Схема запчастей Case 327B - (94A01000522[001]) - GREASE CIRCUIT, AUTOMATIC - REAR FRAME (87567931) (09) - Implement / Hydraulics / Frame / Brakes
19
15
7
3
23
1
7
8
22
24
11
11
16
21
3
24
7
25
13
25
6
1
7
14
24
14
2
15
7
13
20
24
24
9
7
2
7
26
7
6
8
24
14
14
14
15
14
25
11
12
26
13
7
FIT
1:1
100%

Артикул

Название

Примечание

Количество

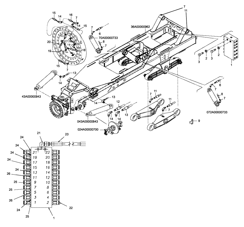
1

89500420202

DISTRIBUTOR

Replaces 89500420203 Distributor

1шт.

2

8900955275

LOCK WASHER

2шт.

3

8900033168

BOLT

M6 x 50

2шт.

6

89500419178

HOSE

2шт.

7

8900190693

HYD CONNECTOR

10шт.

8

89500419180

HOSE

2шт.

9

8900046313

COLLAR

28шт.

10

8998197808

HYD CONNECTOR

6шт.

11

89500419179

HOSE

4шт.

12

89500419181

HOSE

1шт.

13

89500419182

HOSE

3шт.

14

8900190692

HYD CONNECTOR

6шт.

15

89500419183

HOSE

3шт.

16

89500419184

HOSE

1шт.

17

89500419188

HOSE

2шт.

18

89500419187

HOSE

1шт.

19

89500419185

HOSE

2шт.

20

89500419189

HOSE

1шт.

21

2928866

ELBOW

1шт.

22

2928867

ELBOW

22шт.

23

89500419177

HOSE

HOSE

1шт.

24

89500414390

PLUG

12шт.

25

89500414392

PLUG

6шт.

26

89500414391

PLUG

PLUG

4шт.

Выбрано товаров: 0