Запчасти Case 327B (10A00030688[001]) - TANK, FUEL (87557293) (01) - ENGINE

Схема запчастей Case 327B - (10A00030688[001]) - TANK, FUEL (87557293) (01) - ENGINE
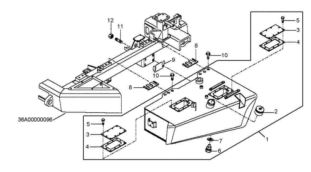
1
2
8
3
8
5
12
11
5
9
3
10
7
10
6
4
4
FIT
1:1
100%

Артикул

Название

Примечание

Количество

1

89500420576

FUEL TANK

Replaces 89500416638 Fuel Tank

1шт.

2

89500426659

CAP

Replaces 89500424555 And 89500418987 Fuel Caps

1шт.

3

89500418938

COVER

2шт.

4

89500418937

GASKET

2шт.

5

8900116549

BOLT

M8 x 20

20шт.

6

8900008638

MAGNETIC PLUG

1шт.

7

89500402288

GASKET

Replaces 8900005327 Ring Copper Used On Some Models

1шт.

8

89500420581

SHIM

If Used

6шт.

9

89500420582

SHIM

If Used

6шт.

10

8900135045

SCREW,M14 x 40mm

M14 x 40; Replaces 8900124156 Bolt Used On Some models

6шт.

11

89500423416

STUD

Replaces 8900055764 Stud M16 x 1.5 x 35 Used On Some Models; Stud Replaces 8900177280 Bolt And 8900110597 Bevel Washer Used On Some Models

8шт.

12

8941021376

NUT

If Used

8шт.

Выбрано товаров: 12