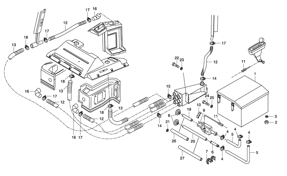
Запчасти Case 330 (54A00020543[02]) - ROPS CAB - HEATER INSTALLATION (10) - Cab/Cowlings

Схема запчастей Case 330 - (54A00020543[02]) - ROPS CAB - HEATER INSTALLATION (10) - Cab/Cowlings
12
1
10
17
4
5
11
23
6
18
14
8
9
16
16
5
27
3
16
17
4
13
13
19
18
12
4
12
17
26
21
22
20
4
24
14
12
15
2
17
13
11
18
17
7
25
FIT
1:1
100%

Артикул

Название

Примечание

Количество

1

8900127301

BOX

1шт.

See Page : 54B00000011

1шт.

2

8900140611

NUT

M6

4шт.

3

8900104348

WASHER

4шт.

4

8900127298

COLLAR

4шт.

5

8900127299

HOSE

2шт.

6

8900127300

SLEEVE

1шт.

7

8900127302

CLIP

4шт.

8

8900127303

GROMMET

2шт.

9

8900127304

DRAINCOCK/TAP SUPPLY

1шт.

10

8900130081

SPRING CLIP

1шт.

11

8900127305

CABLE

1шт.

12

8900127332

HOSE

DIA.45

1шт.

Order Length

1шт.

13

8900127333

HOSE

DIA.60

1шт.

Order Length

1шт.

14

8900127334

HYD CONNECTOR

32-50

3шт.

15

8900127335

HYD CONNECTOR

50-70

4шт.

16

8900130166

DIFFUSER

3шт.

17

8900130164

COLLAR

4шт.

18

8900130165

COLLAR

3шт.

19

8900130083

HOSE

L 1700

1шт.

20

8900130082

HOSE

L 2900

1шт.

21

8900102075

LOCK WASHER

1шт.

22

8900140610

BOLT

M6 x 20

2шт.

23

8900104348

WASHER

2шт.

24

8900140879

BOLT,M8 x 25mm

M8 x 25

10шт.

25

8900956220

LOCK WASHER

10шт.

26

L 1300

1шт.

27

89500406634

FLEXIBLE SHEATH

L 2000

1шт.

Выбрано товаров: 30