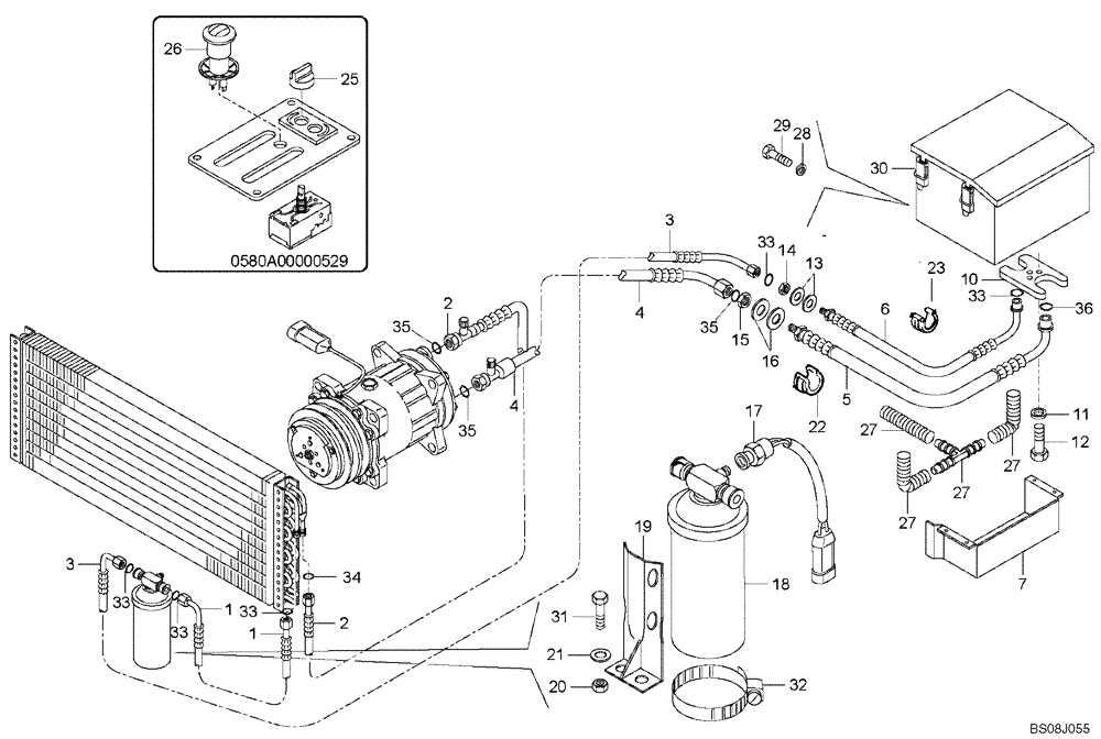
Запчасти Case 330 (58A00010526[02]) - AIR CONDITIONING - CIRCUIT REAR (10) - Cab/Cowlings

Схема запчастей Case 330 - (58A00010526[02]) - AIR CONDITIONING - CIRCUIT REAR (10) - Cab/Cowlings
FIT
1:1
100%

Артикул

Название

Примечание

Количество

1

8900130085

FLEXIBLE HOSE

Incl. Ref Item 33

1шт.

2

8900130086

FLEXIBLE HOSE

Incl. Ref Item 34 - 35

1шт.

3

8900128354

FLEXIBLE HOSE

Incl. Ref Item 33

1шт.

4

8900130087

FLEXIBLE HOSE

Incl. Ref Item 35

1шт.

5

8900127768

HOSE

Incl. Ref Item 36

1шт.

6

8900127769

HOSE

Incl. Ref Item 33

1шт.

7

8900127770

BRACKET

1шт.

10

8900122927

PLATE

1шт.

11

8900104348

WASHER

D.6

2шт.

12

8900140610

BOLT

M6 x 20

2шт.

13

8900127771

SEALING WASHER

2шт.

14

8900127772

NUT

1шт.

15

8900127773

NUT

1шт.

16

8900127774

SEALING WASHER

2шт.

17

89500405970

SENSOR

AIR CONDITIONER, PRESSURE GAGE

1шт.

18

8900122231

RECEIVER-DRYER,Air COnditioner

1шт.

19

8900128349

BRACKET

1шт.

20

8900141635

NUT

M6

2шт.

21

8900140614

WASHER

D.6

2шт.

22

89500406346

COLLAR

D.24

1шт.

23

89500406347

COLLAR

D.20

1шт.

25

8900122864

KNOB

1шт.

26

8900127777

KNOB

1шт.

27

8900127778

HYD CONNECTOR

1шт.

28

8900956220

LOCK WASHER

L=1500 mm

10шт.

29

8900140879

BOLT,M8 x 25mm

10шт.

30

8900127785

AIR CONDITIONER

1шт.

31

8900141694

BOLT,M6 x 25mm

2шт.

32

8900110496

COLLAR

2шт.

33

8900132715

SEALING RING

5шт.

34

8900127789

SEALING RING

1шт.

35

8900122933

SEALING RING

2шт.

36

8900122929

SEALING RING

Replaces 8998341167 Seal Ring

1шт.

Выбрано товаров: 33