Запчасти Case 330 (67A00001243[03]) - REAR LIGHTS - ELECTRIC COMPONENTS (13) - Electrical System / Decals

Схема запчастей Case 330 - (67A00001243[03]) - REAR LIGHTS - ELECTRIC COMPONENTS (13) - Electrical System / Decals
12
11
3
2
8
1
4
5
6
7
10
9
FIT
1:1
100%

Артикул

Название

Примечание

Количество

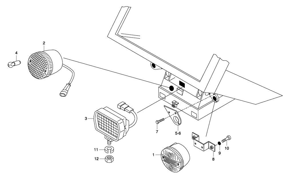
1

8900193803

TAIL LAMP

2шт.

See Page : 67C00000014

1шт.

2

8900191790

TAIL LAMP

1шт.

3

89500402930

LIGHT

2шт.

4

8960260021

BULB,24V, 21W

24V-21W

1шт.

5

8900188816

PLATE

1шт.

Left

1шт.

6

8900188817

PLATE

1шт.

Right

1шт.

7

8900142285

SCREW

M6 x 16

3шт.

8

89500400620

BRACKET

2шт.

9

8900145012

COLLAR

4шт.

10

8900140738

BOLT

M8 x 20

4шт.

11

8900101776

LOCK WASHER

1шт.

12

8900016391

NUT

M8

1шт.

Выбрано товаров: 15