Качественные детали и логистика
Оригинальные и аналоговые запчасти с доставкой по России, Казахстану и Беларуси
©2022 PartSell ООО "Система" ИНН 2463123282 ОГРН 1212400004838
Центральный офис: г. Красноярск, Академика Киренского, д.87, пом.4
Телефон: 8 (800) 777-65-74 Email: zakaz@partsell.ru
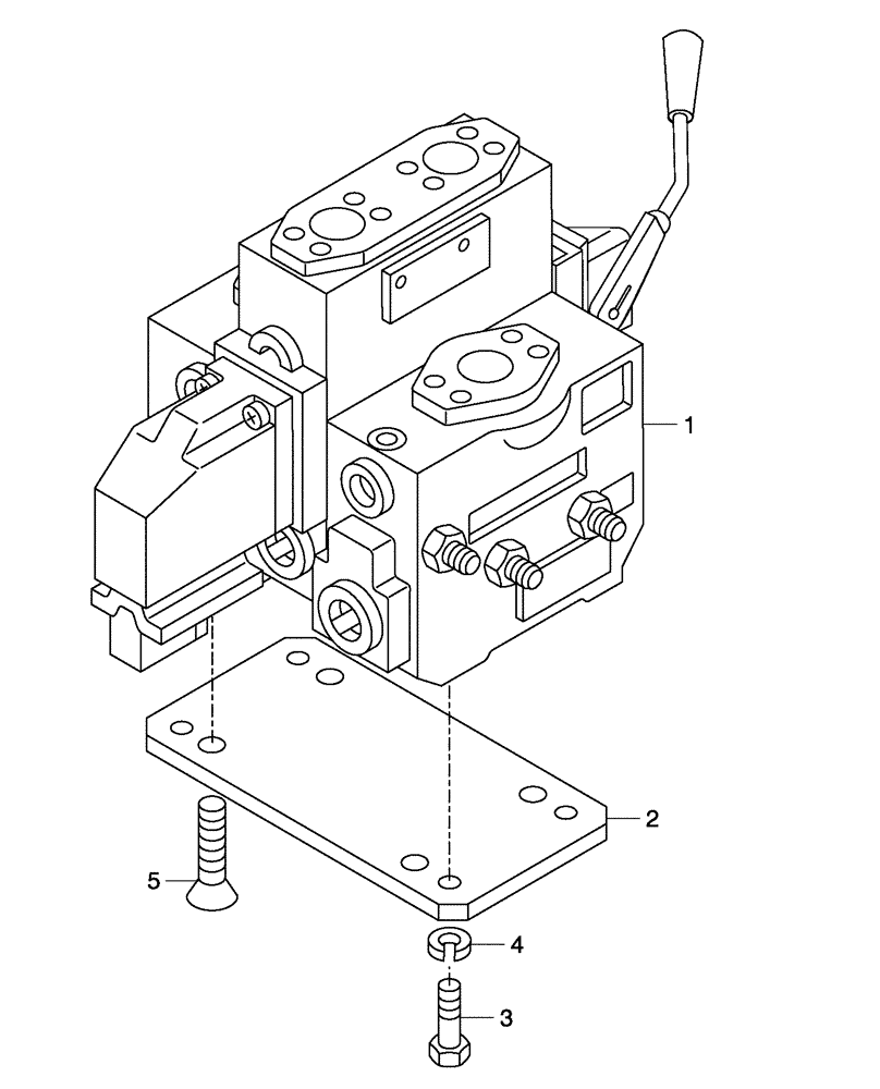
(72A00000714[02]) - DUMPING SYSTEM - DISTRIBUTION VALVE
№
Артикул
Название
Примечание
Количество
1
89500401682
CONTROL VALVE
1шт.
2
8900191029
PLATE
3
8900028752
BOLT
M12 x 25
4шт.
4
8900115529
LOCK WASHER
5
8900125072
SCREW
M12 x 30
Выбрано товаров: 0