Запчасти Case 330B (47A00002263[001]) - BRAKE SYSTEM - AIR RESERVOIR, PARKING (P.I.N. HHD033BN7PG57000 AND AFTER) (84155551) (09) - Implement / Hydraulics / Frame / Brakes

Схема запчастей Case 330B - (47A00002263[001]) - BRAKE SYSTEM - AIR RESERVOIR, PARKING (P.I.N. HHD033BN7PG57000 AND AFTER) (84155551) (09) - Implement / Hydraulics / Frame / Brakes
9
4
10
5
9
8
8
1
6
7
5
6
11
10
11
2
4
3
FIT
1:1
100%

Артикул

Название

Примечание

Количество

REF

INSTRUCTION

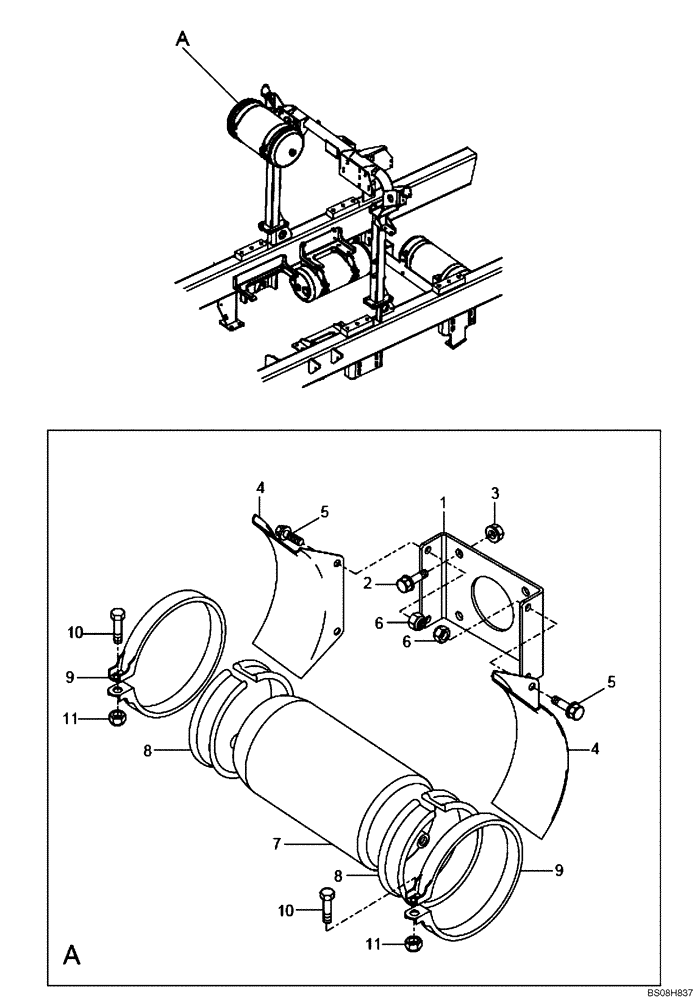
Air Reservoir, Parking Brake (84155551)

1шт.

1

89500414895

BRACKET

1шт.

2

8900115589

BOLT

M10 x 30

4шт.

3

8900140777

NUT

4шт.

4

8998434930

BRACKET

2шт.

5

8900116549

BOLT

M8 x 20

4шт.

6

8900115122

NUT

S.L.

4шт.

7

89504197588

AIR TANK

1шт.

8

8941006909

RING

2шт.

9

8900113194

CLAMP

Band

2шт.

10

8998435104

SCREW,#10 x 1 1/2"

M10 x 1.5

2шт.

11

8900025351

NUT

S.L.

2шт.

Выбрано товаров: 12