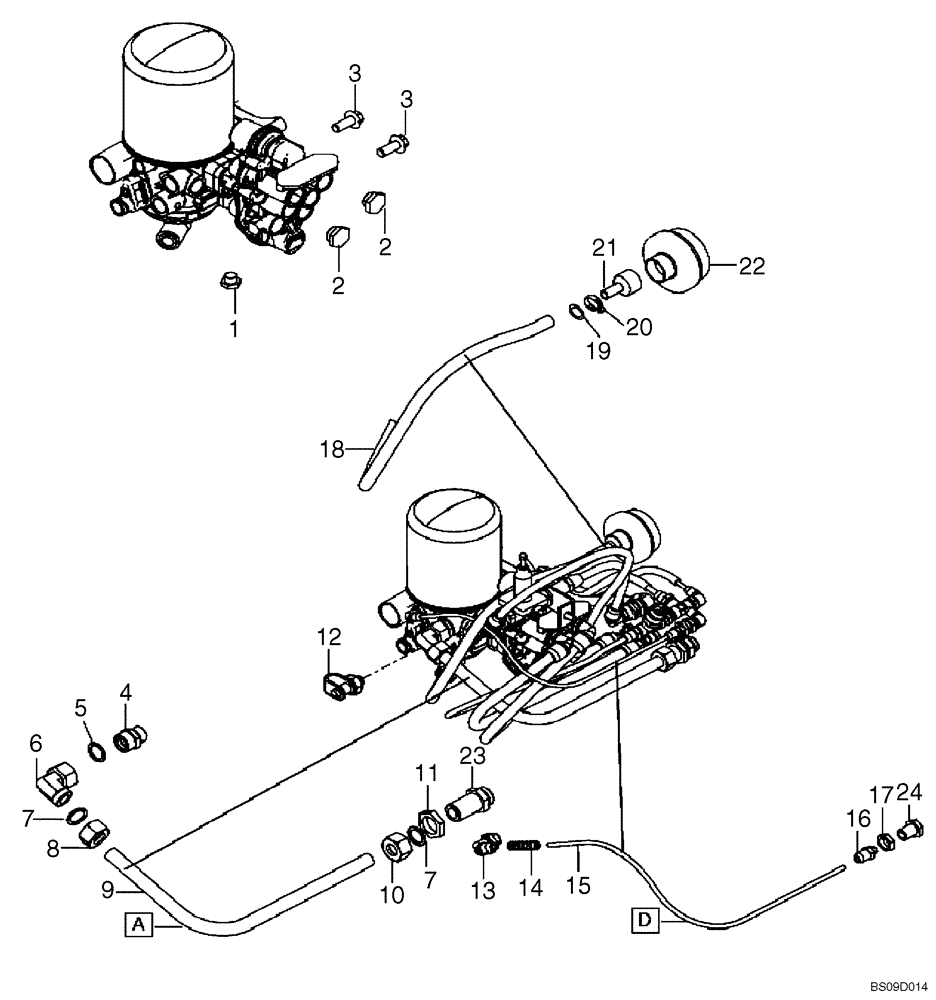
Запчасти Case 330B (47A01002289[001]) - BRAKE SYSTEM OIL CIRCUIT INSTAL (P.I.N.0330BN7PG57000 AND AFTER) (84185830) (09) - Implement / Hydraulics / Frame / Brakes

Схема запчастей Case 330B - (47A01002289[001]) - BRAKE SYSTEM OIL CIRCUIT INSTAL (P.I.N.0330BN7PG57000 AND AFTER) (84185830) (09) - Implement / Hydraulics / Frame / Brakes
2
9
1
10
22
14
13
4
2
16
5
7
21
12
24
11
3
15
7
8
3
20
6
18
17
19
23
FIT
1:1
100%

Артикул

Название

Примечание

Количество

REF

INSTRUCTION

Brake System Oil Circuit Instal (84185830)

1шт.

1

8900117257

PLUG

1шт.

2

8900117258

PLUG

2шт.

3

8900118223

BOLT,M12 x 30mm

M12 x 30

3шт.

4

8900141355

HYD CONNECTOR

Intake

1шт.

5

8900038706

COPPER SEAL

Copper Ring

1шт.

6

8916504315

90 ELBOW

ELBOW 90; Replaces 8900141348 Elbow 90

1шт.

7

8900141385

RING

2шт.

8

8900141384

NUT

1шт.

9

89500436627

PIPE

PIPE, Copper; Replaces 89500434683 Pipe

1шт.

10

8900141384

NUT

1шт.

11

8916509115

NUT

M22 x 1.5

1шт.

12

8900178915

HYD CONNECTOR

1шт.

13

8900121565

HYD CONNECTOR

Elbow

1шт.

14

8900095153

FLEXIBLE SHEATH

1шт.

15

8900095210

PLASTIC-RUBBER TUBE

1шт.

16

8900118286

HYD CONNECTOR

1шт.

17

8900117264

NUT

1шт.

18

8900095243

PLASTIC-RUBBER TUBE

1шт.

19

8900173267

SEALING RING

SEALRING

1шт.

20

8918087894

HOSE CLAMP

1шт.

21

8998198511

ADAPTER

1шт.

22

8900119036

MUFFLER

1шт.

23

8900141358

HYD CONNECTOR

No Longer Required

1шт.

24

8900117260

FITTING

No Longer Required

1шт.

Выбрано товаров: 25