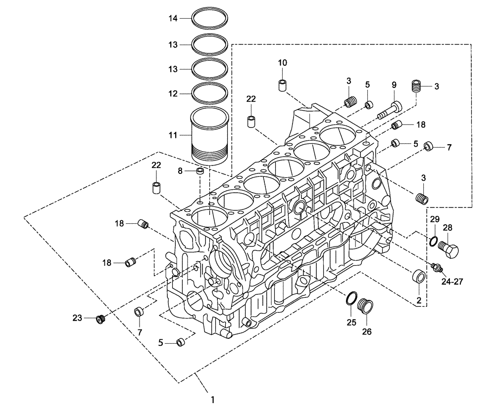
Запчасти Case 330B (01A00000282[001]) - ENGINE BLOCK PARTS (87599682) (01) - ENGINE

Схема запчастей Case 330B - (01A00000282[001]) - ENGINE BLOCK PARTS (87599682) (01) - ENGINE
26
8
10
7
5
28
3
12
3
13
22
5
3
13
22
11
25
29
18
23
2
1
14
5
7
27
9
18
18
24
FIT
1:1
100%

Артикул

Название

Примечание

Количество

1

504170959

CYLINDER BLOCK

1шт.

Include(s) 2 - 10, 18, 22

1шт.

2

14282970

PLUG,M45, Tapered, Stainless

2шт.

3

504051237

PLUG

3шт.

5

14282470

PLUG,M28, Tapered, Stainless

3шт.

7

16990670

PLUG,Lock, 22mm Dia

6шт.

8

16990570

PLUG

6шт.

9

500356932

PLUG

3шт.

10

500368916

DOWEL

1шт.

11

504071139

LINER, ENGINE CYLINDER

6шт.

12

99456553

GASKET

6шт.

13

99456554

GASKET

12шт.

14

99432872

GASKET

6шт.

18

98471181

PLUG

SP=0,10MM

3шт.

22

99467554

DOWEL

SP=0,12MM

4шт.

23

504120669

PLUG

1шт.

24

41240268

INTAKE ASSY

1шт.

25

99469382

SEAL

1шт.

26

4665029

PLUG

M42 x 1.5

1шт.

27

41203131

HYD CONNECTOR

1шт.

28

10300714

PLUG,M16 x 1.5 x 14

M16 x 1.5

1шт.

29

99489019

SEALING WASHER

M16 x 24 x 1.5 THICK

1шт.

Выбрано товаров: 0