Запчасти Case 330B (47A06002317[001]) - HYDROPNEUMATIC LINES INSTAL, BRAKE SYSTEM - REAR CHASSIS (P.I.N. HHD0330BN7PG57000 AND AFTER) (84194446) (09) - Implement / Hydraulics / Frame / Brakes

Схема запчастей Case 330B - (47A06002317[001]) - HYDROPNEUMATIC LINES INSTAL, BRAKE SYSTEM - REAR CHASSIS (P.I.N. HHD0330BN7PG57000 AND AFTER) (84194446) (09) - Implement / Hydraulics / Frame / Brakes
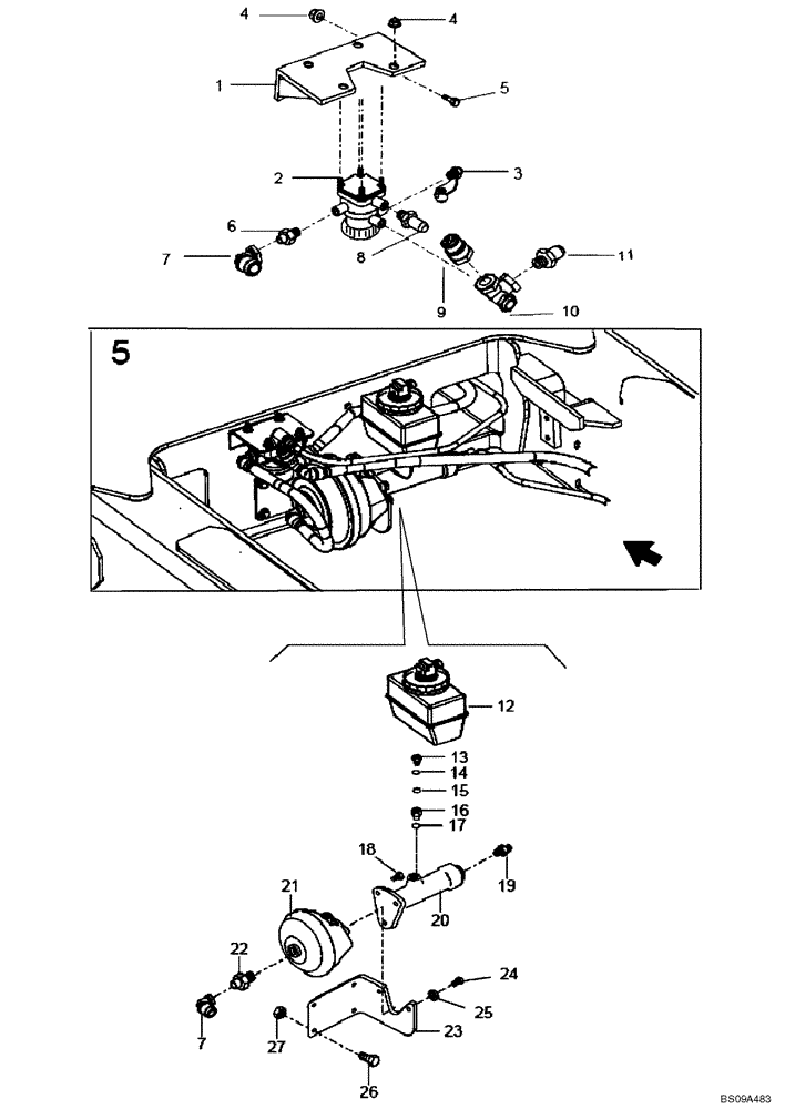
7
6
26
16
24
13
25
11
19
27
1
23
7
22
8
14
15
3
10
4
12
4
9
18
5
20
21
17
2
FIT
1:1
100%

Артикул

Название

Примечание

Количество

REF

INSTRUCTION

Hydropneumatic Lines Instal, Brake System - Rear Chassis (84194446)

1шт.

1

89500436207

BRACKET

BRACKET

1шт.

2

8900182739

PNEUMATIC VALVE

VALVE, PNEUMATIC

1шт.

3

8900178915

HYD CONNECTOR

1шт.

4

8900115122

NUT

NUT S.L.

6шт.

5

8900115555

BOLT,M8 x 30mm

M8 x 30

2шт.

6

8900121516

HYD CONNECTOR

1шт.

7

89500326018

90 ELBOW

2шт.

8

8900117244

HYD CONNECTOR

1шт.

9

89504255336

SWITCH

1шт.

10

8998497915

TEE

TEE

1шт.

11

8900117247

HYD CONNECTOR

1шт.

12

8900141093

BRAKE FLUID TANK

RESERVOIR, BRAKE SYSTEM OIL

1шт.

13

8900141094

HYD CONNECTOR

CONNECTOR, HYD, Intake

1шт.

14

8900141095

SEALING RING COLLAR

SEAL RING, Collar

1шт.

15

8900056069

RING

1шт.

16

8900161333

HYD CONNECTOR

CONNECTOR HYDRAULIC

1шт.

17

8900105501

SEALING RING COLLAR

1шт.

18

8916587024

BOLT,M10 x 20mm

M10 x 20

3шт.

19

89500403808

HYD CONNECTOR

1шт.

20

89500434966

PUMP

PUMP, HYDROPNEUMATIC

1шт.

21

8900161438

CONVERTER

CONVERTER, HYDROPNEUMATIC

1шт.

22

8900121507

HYD CONNECTOR

1шт.

23

89500435451

BRACKET

BRACKET

1шт.

24

8900001392

BOLT,M12 x 1.75 x 30mm

M12 x 1.75 x 30

2шт.

25

8917095214

PLUG

2шт.

26

8900115589

BOLT

M10 x 30

4шт.

27

8900140777

NUT

4шт.

Выбрано товаров: 28