Запчасти Case 330B (49A02001110[001]) - PNEUMATIC LINES, BRAKE VALVE (P.I.N. HHD0330BN7PG57000 AND AFTER) (84198625) (09) - Implement / Hydraulics / Frame / Brakes

Схема запчастей Case 330B - (49A02001110[001]) - PNEUMATIC LINES, BRAKE VALVE (P.I.N. HHD0330BN7PG57000 AND AFTER) (84198625) (09) - Implement / Hydraulics / Frame / Brakes
2
5
19
23
6
11
20
2
1
2
4
9
21
14
22
1
2
1
11
13
12
17
b
2
3
7
16
1
16
11
10
1
15
1
8
16
2
2
1
1
18
2
FIT
1:1
100%

Артикул

Название

Примечание

Количество

REF

INSTRUCTION

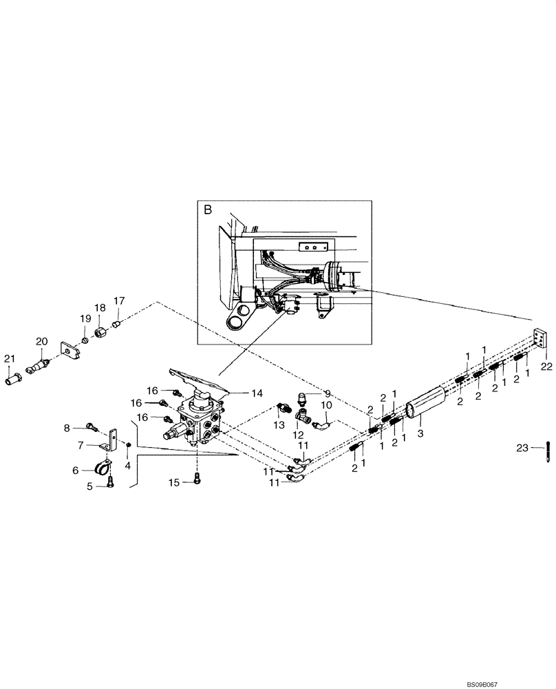
Pneumatic Lines, Brake Valve (84198625)

1шт.

1

8900095211

HOSE

Plastic

1шт.

2

8900095153

FLEXIBLE SHEATH

Corrugated

1шт.

3

89500405923

FLEXIBLE HOSE

COVER

1шт.

4

8900115122

NUT

S.L.

1шт.

5

8900116551

BOLT,M6 x 16mm

M6 x 16

1шт.

6

8900142302

BRACKET

BRACKET

1шт.

7

8900164642

BRACKET

1шт.

8

8900116549

BOLT

M8 x 20

1шт.

9

8900117244

HYD CONNECTOR

1шт.

10

8900117282

HYD CONNECTOR

Elbow

1шт.

11

8900123335

HYD CONNECTOR

Elbow

3шт.

12

8900121520

HYD CONNECTOR

Tee

1шт.

13

8900121516

HYD CONNECTOR

1шт.

14

89500431910

BRAKE VALVE

VALVE, BRAKE, W/Pedal

1шт.

15

8900006309

BOLT,M8 x 20mm

M8 x 20

3шт.

16

8900117257

PLUG

3шт.

17

8900141326

BUSHING

1шт.

18

8900195523

NUT

NUT

1шт.

19

8900141325

RING

1шт.

20

89500419869

PRESSURE SWITCH

Brake Cooling

1шт.

21

89500418521

HYD CONNECTOR

1шт.

22

8900121015

PLATE

1шт.

23

8900150511

COLLAR

Strap Band

10шт.

Выбрано товаров: 24