Качественные детали и логистика
Оригинальные и аналоговые запчасти с доставкой по России, Казахстану и Беларуси
©2022 PartSell ООО "Система" ИНН 2463123282 ОГРН 1212400004838
Центральный офис: г. Красноярск, Академика Киренского, д.87, пом.4
Телефон: 8 (800) 777-65-74 Email: zakaz@partsell.ru
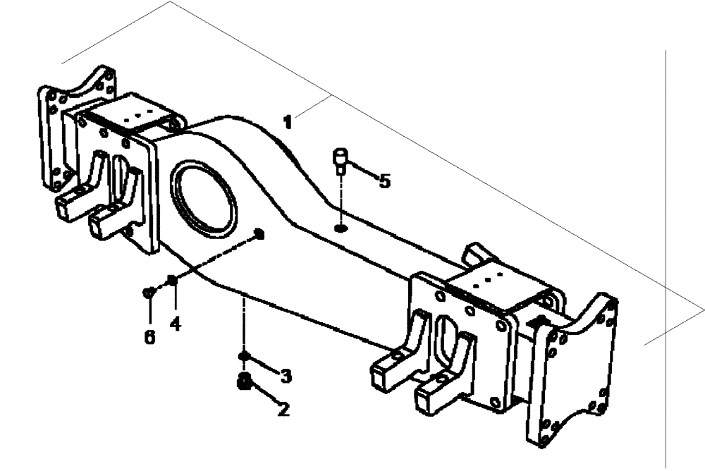
(30A00000699[001]) - HOUSING, FRONT AXLE, OPTIONAL (P.I.N. HHD0330BN7PG57000 AND AFTER) (84230671)
№
Артикул
Название
Примечание
Количество
REF
INSTRUCTION
Housing, Front Axle (84230671)
1шт.
1
8998342182
AXLE HOUSING
Includes 2-6
2
8900133455
PLUG
3
8900133514
GASKET
4
8900133515
5
8900133513
BREATHER
6
8900133454
Выбрано товаров: 0