Запчасти Case 335 (18A00000592[001]) - TRANSMITTERS (03) - Converter / Transmission

Схема запчастей Case 335 - (18A00000592[001]) - TRANSMITTERS (03) - Converter / Transmission
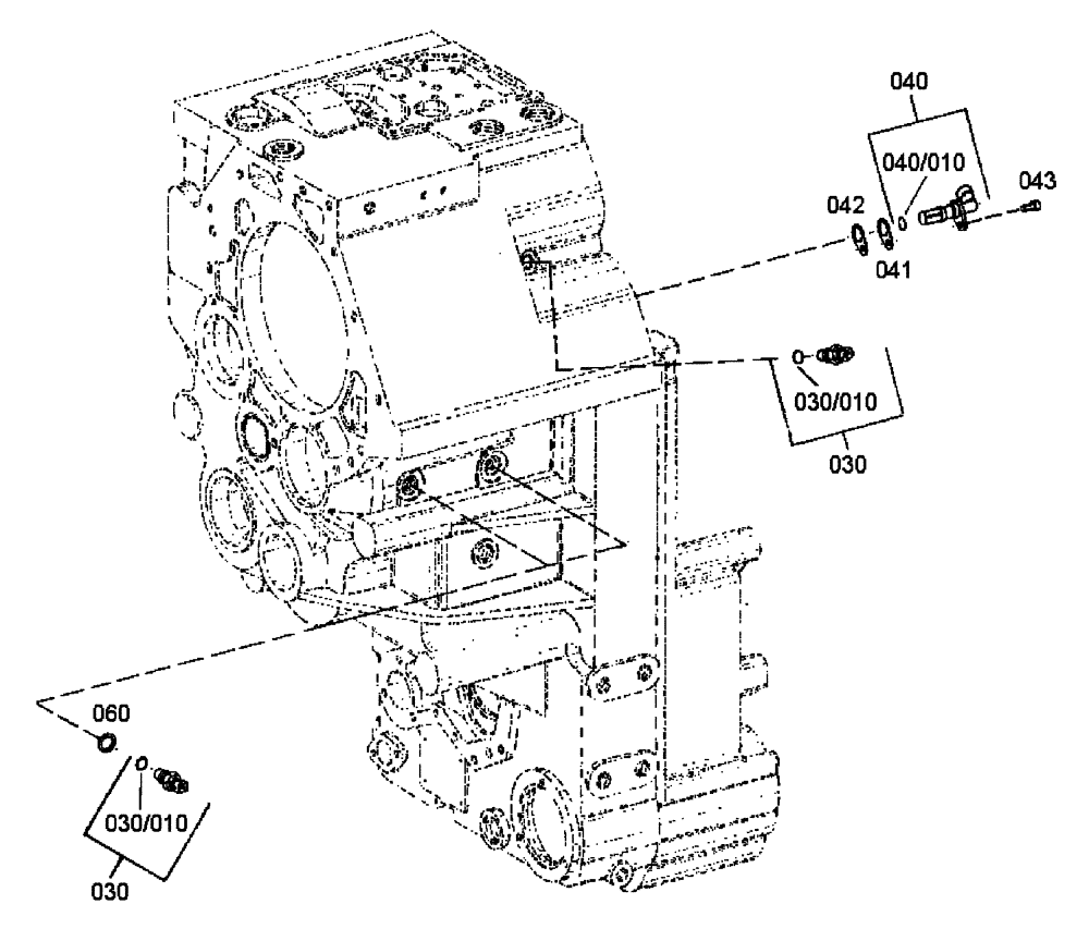
042
040
030
010
030
030
010
010
041
040
030
043
060
FIT
1:1
100%

Артикул

Название

Примечание

Количество

030

8603397

SENSOR

3шт.

Include(s) 030/010

1шт.

030/010

87453989

O-RING

3шт.

040

8603398

SENSOR

Speed, Output

1шт.

Include(s) 040/010

1шт.

040/010

8603629

O-RING

1шт.

041

8900126965

COVER PLATE

1шт.

042

8900126965

COVER PLATE

2шт.

043

8900126966

SCREW,M8 x 16mm

M8 x 16

1шт.

060

S300497

SHIM,1.5mm Thk

1шт.

060

S300498

SHIM,1.4mm Thk

1шт.

060

S300499

SHIM,1.2mm Thk

1шт.

060

S300500

SHIM,1mm Thk

1шт.

060

8900126967

SHIM

2.00 mm

1шт.

060

S300502

SHIM,0.5mm Thk

1шт.

060

S300503

SHIM,0.3mm Thk

1шт.

060

S300504

SHIM,0.2mm Thk

1шт.

060

S300505

BLOCK

1.60 mm

1шт.

060

S300506

SHIM,1.8mm Thk

1шт.

Выбрано товаров: 19