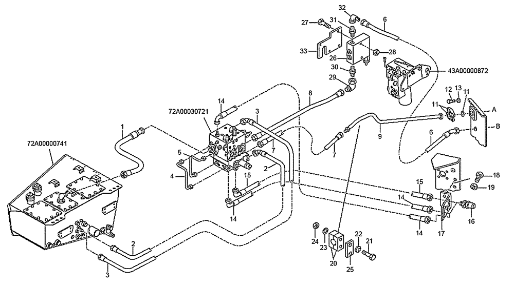
Запчасти Case 335B (72A00010743[001]) - HYDRAULIC DUMP CIRCUIT (87603054) (19) - OPTIONS

Схема запчастей Case 335B - (72A00010743[001]) - HYDRAULIC DUMP CIRCUIT (87603054) (19) - OPTIONS
15
24
11
17
18
6
20
31
23
8
9
25
15
30
6
14
2
33
3
2
21
13
4
14
7
3
14
29
1
7
16
12
26
11
28
5
22
27
14
32
19
FIT
1:1
100%

Артикул

Название

Примечание

Количество

1

89500432180

HOSE

2"-12 ORFS; 1340mm Lg.

1шт.

2

89500407789

HOSE

1шт.

3

89500407790

HOSE

1шт.

4

89500407580

PIPE

1шт.

5

89500407581

PIPE

1шт.

6

89500418692

HOSE ASSY.

1шт.

7

89500407731

HOSE

1шт.

8

89500410840

HOSE

1шт.

9

89500407579

PIPE

1шт.

10

8900191433

FLANGE

2шт.

11

8917289180

O-RING

1шт.

12

8900119987

BOLT

M12 x 40

4шт.

13

8900115529

LOCK WASHER

4шт.

14

89500408976

HOSE

2шт.

15

89500408183

HOSE

1шт.

16

8900189997

HYD CONNECTOR

3шт.

17

89500408903

SUPPORT

1шт.

18

8918139525

SCREW,M10 x 30mm

M10 x 30; Replaces 8900115589 Bolt M10 x 30

2шт.

19

8900140777

NUT

2шт.

20

89500407409

COLLAR

2шт.

21

8900012143

BOLT,M6 x 55mm

M6 x 55

2шт.

22

8900955275

LOCK WASHER

2шт.

23

89500407418

GASKET

2шт.

24

8900108842

NUT

2шт.

25

89500407425

PLATE

1шт.

26

89500411120

VALVE

1шт.

27

8916592524

SCREW

2шт.

28

8900115122

NUT

2шт.

29

89500406109

CONNECTION

1шт.

30

89500406117

HYD CONNECTOR

1шт.

31

89500408432

HYD CONNECTOR

1шт.

32

89500406108

CONNECTION

1шт.

33

89500418449

PLATE

1шт.

Выбрано товаров: 33