Запчасти Case 335B (04A00000634[001]) - RADIATOR / HYDRAULIC FAN MOTOR (87585039) (01) - ENGINE

Схема запчастей Case 335B - (04A00000634[001]) - RADIATOR / HYDRAULIC FAN MOTOR (87585039) (01) - ENGINE
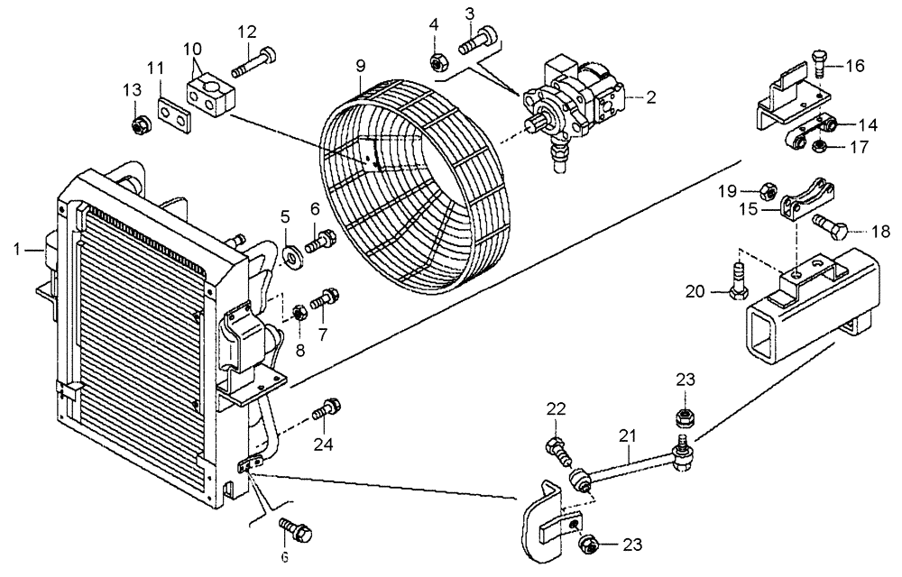
2
1
6
6
21
5
24
19
22
14
7
20
3
12
23
8
17
15
10
11
13
4
23
9
18
16
FIT
1:1
100%

Артикул

Название

Примечание

Количество

1

89500407976

RADIATOR

1шт.

See Figure(s) 04B00000033

1шт.

2

89500408149

HYDRAULIC MOTOR

1шт.

See Figure(s) 04B00000034

1шт.

3

8916695724

BOLT

M14 x 40

6шт.

4

8900055342

NUT

6шт.

5

89500404151

SHIM

1шт.

6

8900116549

BOLT

M8 x 20

5шт.

7

8900115555

BOLT,M8 x 30mm

M8 x 30

6шт.

8

8900115122

NUT

6шт.

9

89500409335

SHIELD

1шт.

10

89500407408

CLAMP

8шт.

11

89500407425

PLATE

4шт.

12

8900020291

BOLT,M6 x 65mm

M6 x 65

8шт.

13

8900125009

NUT

8шт.

14

8900110483

SEAT/SLOT

2шт.

15

8900110485

BRACKET

2шт.

16

8900115589

BOLT

M10 x 30

4шт.

17

8900124670

NUT

4шт.

18

8900045521

BOLT

M14 x 80

4шт.

19

8900101945

LOCK NUT

4шт.

20

8916288524

BOLT

M10 x 1.25 x 30

4шт.

21

8941001646

TIE-ROD

2шт.

22

8900056265

BOLT

M8 x 40

2шт.

23

8900140590

NUT

4шт.

24

8916597424

BOLT

M10 x 16

4шт.

Выбрано товаров: 26