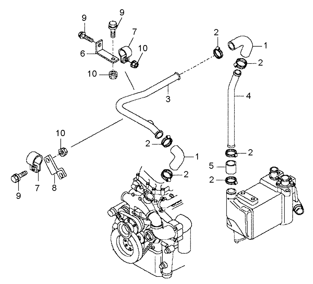
Запчасти Case 335B (04A02030644[001]) - LINES, COOLING - ENGINE / RESERVOIR (87585069) (01) - ENGINE

Схема запчастей Case 335B - (04A02030644[001]) - LINES, COOLING - ENGINE / RESERVOIR (87585069) (01) - ENGINE
4
8
9
2
10
2
1
5
7
9
7
2
10
1
2
6
3
10
2
2
9
FIT
1:1
100%

Артикул

Название

Примечание

Количество

1

89500300744

HOSE

2шт.

2

89500418430

HOSE CLAMP

Replaces 8900110496 Clamp, Strap Band

6шт.

3

89500407020

PIPE

1шт.

4

89500407021

PIPE

1шт.

5

89500424929

HOSE

Replaces 8908130696

1шт.

6

89500401835

BRACKET

1шт.

7

8941032762

COLLAR

2шт.

8

89500424132

BRACKET

Replaces 89500407993 Bracket

1шт.

9

8900115555

BOLT,M8 x 30mm

M8 x 30

4шт.

10

8900140590

NUT

M8

4шт.

Выбрано товаров: 10