Запчасти Case 340 (38A00000642[001]) - DRIVE SHAFT PROTECTION, FRONT (UPGRADE BULLETIN W0706) (8998340223) (25) - FRONT AXLE SYSTEM

Схема запчастей Case 340 - (38A00000642[001]) - DRIVE SHAFT PROTECTION, FRONT (UPGRADE BULLETIN W0706) (8998340223) (25) - FRONT AXLE SYSTEM
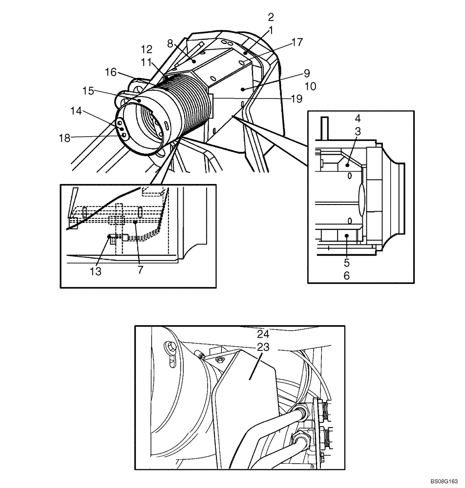
2
3
9
6
8
13
5
11
12
24
1
10
18
19
15
14
23
16
4
17
7
FIT
1:1
100%

Артикул

Название

Примечание

Количество

REF

INSTRUCTION

See Service Information Number SI-ADT 040/06 And Product Upgrade Program Bulletin W0706; Affects Model 335 Tier 2 P.I.N. HHD000501 to HHD000510 / Model 340 Tier 2 P.I.N., Serial Range: HHD000701-HHD000764

1шт.

8998340223

KIT

Dealer Installed Front Drive Shaft And Lateral Protection; Includes Items 1-25

1шт.

1

89500420425

PLATE

Upper Flange LH

1шт.

2

89500420424

PLATE

Upper Flange RH

1шт.

3

89500420428

PLATE

Lower Front Flange LH

1шт.

4

89500420429

PLATE

Lower Front Flange RH

1шт.

5

89500420431

PLATE

Lower Rear Flange LH

1шт.

6

89500420432

PLATE

Lower Rear Flange RH

1шт.

7

89500420383

PLATE

Lower

2шт.

8

89500420379

PLATE

Upper

2шт.

9

89500420420

PLATE

Side LH

1шт.

10

89500420421

PLATE

Side RH

1шт.

11

89500420416

PLATE

Side LH

1шт.

12

89500420417

PLATE

Side RH

1шт.

13

89500420422

PLATE

2шт.

14

89500420405

PLATE

4шт.

15

89500420404

TUBE

Protection

2шт.

16

89500421563

BOOT

2шт.

17

16586325

BOLT,Hex, M8 x 20mm, Cl 8.8

M8 x 20

44шт.

18

8916585825

BOLT

BOLT, M6 x 20

4шт.

19

8900003278

COLLAR CLAMP

Strap Band; Replaces 890045257 Clamp

4шт.

20

89500420368

CLAMP BRACKET

BRACKET, Clamping; Not Illustrated See Program Bulletin W0706

2шт.

21

89500420369

CLAMP BRACKET

BRACKET, Clamping; Not Illustrated See Program Bulletin W0706

2шт.

22

89500423200

PLATE

PLATE, Locating; Not Illustrated See Program Bulletin W0706

1шт.

23

89500420371

PLATE

Side LH

1шт.

24

89500420378

PLATE

Side RH

1шт.

25

89500420366

CLAMP BRACKET

BRACKET, Clamping; Not Illustrated See Program Bulletin W0706

2шт.

Выбрано товаров: 27